Falcon PD 3. Generation
Extremes Leistungsvermögen
Falcon Zahnriemen sind wegen der speziell entwickelten Zahnform der perfekte Ersatz für alle Zahnriemen, die auf bereits vorhandenen Poly-Chain-Zahnscheiben laufen.
Mit ihrer speziell entwickelten Gummimischung in Kombination mit den einzigartigen Zugträgern bieten die Falcon Zahnriemen im Vergleich zu allen anderen Polyurethanzahnriemen ein exzellentes und hochdynamisches Leistungsverhalten.
Zusammensetzung des Zahns
- patentierte Gummimischung
- Temperaturbeständigkeit -50°C bis +95°C
- antistatisch/elektrisch leitfähig nach DIN ISO 9563 und abriebbeständiges Gewebe
Zugstränge
- Patent angemeldete Zugstrangbehandlung
- geschütztes Haftungssystem
- exzellente dynamische Beständigkeit
- spezielle Armidkonstruktion
- Technische Daten
- Riemengrössen
- TL-Standard-Zahnscheiben
- Sonderzahnscheiben
- Einbau und Montage
- Auswahldiagramm
- Leistungstabellen
- Berechnungsfaktoren
Das revolutionäre Riemensystem
Der Falcon PD kann leicht und nahtlos das problematische Kettenlaufwerk durch eine saubere und geräuscharme Gummimischung ersetzen. Dies gewährleistet eine außergewöhnliche Leistung bei höherem Drehmoment und niedriger Geschwindigkeit.
Die weitergehende Forschung der Gummimischung hat zu einem synchronen Riemen, der außergewöhnlich biegewechselfest ist, eine sehr hohe Zugfestigkeit besitzt, weniger Lärm erzeugt und Chemikalien- und Ölbeständig ist, geführt. Zusätzlich ist dieses System speziell für heutige Hochleistungsmotoren entwickelt worden, bei denen hier die Leistung, mit sehr geringen Reibungsverlusten, bis zu 98% übertragen werden kann.
Dieser Riemen hat eine der besten Eigenschaften, im Zusammenhang mit einer Riemenrückspannrolle und kann somit ohne hohen Ingenieursaufwand den Kettenantrieb ersetzen.
Mit dem Falcon PD kann man denselben langlebigen, wartungsfreien Antrieb im System erwarten, der auch mit dem Rest des Antriebssystems vorhanden ist.
Die Vorteile des Falcon PD zusammengefasst:
- Die Leistung des Falcon PD 3. Generation wurde um weitere 25% gesteigert
- Ein ruhigerer Riemenlauf wurde erreicht
- Antistatische / Elektrische Leitfähigkeit nach DIN ISO 9563
- Überlegene Biegewechselfestigkeit
- Höhere Temperaturbeständigkeit
- Einsatz von einer Rückspannrolle möglich
- Hervorragend einsetzbar bei hohen Drehmomenten in niedrigen Geschwindigkeiten
Sonderkonstruktion
In speziellen Anwendungen kann dieser Riemen auch mit einem Carbon Cord hergestellt werden, der bei sehr hohen Drehmomenten und stoßartigen Belastungen deutlich bessere Eigenschaften als der Aramidcord besitzt.
Dieser Riemen ist nur auf Anfrage verfügbar!
| Typ | Riemenbreite [mm] |
Bruchfestigkeit [N/Strang] |
Modul "E" [N/100% Dehnung] |
Zulässige Zugbelastung [N] |
| 8M | 30 | 29.625 | 893.503 | 5.130 |
| 14M | 40 | 54.576 | 1.984.250 | 11.991 |
Bestellbezeichnung
| 8M (8mm) | 8M Riemenbreiten-Code (mm) | ||||||||||||||||||||
| Riemenbezeichnung Teilung - Länge |
Riemenbezeichnung Teilung - Länge |
12 | |||||||||||||||||||
| 21 | |||||||||||||||||||||
| 8GTR-640 | 8GTR-1600 | 36 | |||||||||||||||||||
| 8GTR-720 | 8GTR-1760 |
62 | |||||||||||||||||||
| 8GTR-800 | 8GTR-1792 | ||||||||||||||||||||
| 8GTR-896 | 8GTR-2000 | ||||||||||||||||||||
8GTR-960 |
8GTR-2240 | ||||||||||||||||||||
| 8GTR-1000 | 8GTR-2400 | ||||||||||||||||||||
8GTR-1040 |
8GTR-2520 | ||||||||||||||||||||
| 8GTR-1120 | 8GTR-2840 | ||||||||||||||||||||
| 8GTR-1200 | 8GTR-3200 | ||||||||||||||||||||
8GTR-1224 |
8GTR-3600 | ||||||||||||||||||||
| 8GTR-1280 | 8GTR-4000 | ||||||||||||||||||||
| 8GTR-1440 | 8GTR-4480 | ||||||||||||||||||||
| 14M (14mm) | 14M Riemenbreiten-Code (mm) | ||
| Riemenbezeichnung Teilung - Länge |
Riemenbezeichnung Teilung - Länge |
20 | |
| 37 | |||
| 14GTR-994 | 14GTR-2520 | 68 | |
| 14GTR-1120 | 14GTR-2660 | 90 | |
| 14GTR-1190 | 14GTR-2800 | 125 | |
| 14GTR-1260 | 14GTR-3136 | ||
| 14GTR-1400 | 14GTR-3304 | ||
| 14GTR-1568 | 14GTR-3500 | ||
14GTR-1610 |
14GTR-3850 |
||
| 14GTR-1750 | 14GTR-3920 | ||
| 14GTR-1890 | 14GTR-4326 |
||
| 14GTR-1960 | 14GTR-4410 | ||
| 14GTR-2100 | 14GTR-5166 |
||
| 14GTR-2240 | 14GTR-6496 |
||
| 14GTR-2380 | 14GTR-6636 |
||
TL-Standardriemenscheibenschnitt
Das Zahnprofil des Falcon Hochleistungszahnriemens ist für die am Markt befindlichen Poly Chain Zahnscheiben entwickelt worden.
Der Riemen sollte somit in Verbindung mit einer Poly Chain Zahnscheibe eingesetzt werden, um seine volle Leistungsfähigkeit zu entfalten. In Ausnahmefällen können auch weitere Zahnscheibenprofile eingesetzt werden. Hierzu sprechen Sie uns bitte im Einzelfall an!
Zahnscheiben mit Poly Chain Verzahnung
Für die Zahnriemenantriebe, die höchste Anforderungen an die Leistung stellen, wie
- Haupt- und Achsantriebe bei Bearbeitungsmaschinen
- Generatoren
- Zerkleinerer
usw. empfehlen wir Zahnscheiben mit Poly Chain Verzahnung.
| Außendurchmessertoleranzen | ||
| Außendurchmesser | zulässige Abweichung |
|
| mm von | mm bis | mm |
| 50 | 100 | 0,10 |
| 101 | 175 | 0,13 |
| 176 | 300 | 0,15 |
| 301 | 500 | 0,18 |
| 501 | 800 | 0,20 |
| Planlauftoleranz | |
| Außendurchmesser- Bereich |
zulässige Abweichung |
| mm | mm |
| bis 101,60 | 0,10 |
| über 101,60 bis 250,00 |
0,1 +0,1mm pro 100mm Außendurchmesser |
| über 251,00 | 0,25 +0,05mm pro 100mm Außendurchmesser |
Zahnscheibenlückenprofile
Die Zahnlücken der Scheiben für Falcon Zahnriemen müssen absolut teilungsgenau und in den empfohlenen Toleranzbereichen hergestellt werden. Nur die Einhaltung der Maße gewährleistet höchste Belastbarkeit und einen spielarmen Lauf dieser Zahnriemen.
Zahnscheiben-Werkstoffe
Die unterschiedlichsten Werkstoffe, wie Sintermetall, Kunststoffe, Aluminium, Stahl, Grauguss und Stahlguss, können zur Herstellung von Zahnscheiben verwendet werden. Die Wahl des Werkstoffs richtet sich jedoch in erster Linie nach der vorhandenen Beanspruchung, wobei insbesondere auf eine ausreichende Verschleißfestigkeit zu achten ist.
Bei größerem Serienbedarf ist die Herstellung von Zahnscheiben im Vollformverfahren (Spritz- oder Druckguss) zweckmäßig.
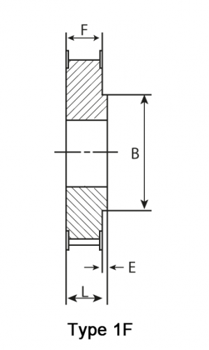
Bordscheiben
Bordscheiben verhindern das Ablaufen von Zahnriemen. Es ist erforderlich, dass mindestens eine der Scheiben - aus Kostengründen meist die kleinere - mit 2 Bordscheiben versehen wird. Auch das wechselseitige Anbringen von je 1 Bordscheibe pro Zahnscheibe ist möglich. Bei Antrieben mit einem Achsabstand größer 8 · dw sind je 2 Bordscheiben pro Zahnscheibe zu empfehlen.
Parallelität
Die Zähne sollen zur Achse der Bohrung parallel verlaufen mit einer Abweichung von höchstens 0,001 mm pro Millimeter der Breite.
Konizität
Die Konizität darf höchstens 0,001 mm je Millimeter in der Kopfbreite betragen und dabei die zulässige Durchmessertoleranz nicht überschreiten.
Wirkdurchmesser = (Zähnezahl x Teilung)/π
Außendurchmesser = Wirkdurchmesser - (2 x PLD)
| Teilung | PLD-radial |
|---|---|
| 8 mm | 0,8 mm |
| 14 mm | 1,4 mm |
| Zahnteilung 8 mm | ||||||||
| Zähnezahl | Wirk-Ø (mm) |
Außen-Ø (mm) |
Zähnezahl | Wirk-Ø (mm) |
Außen-Ø (mm) |
Zähnezahl | Wirk-Ø (mm) |
Außen-Ø (mm) |
| 22 | 56,02 | 54,42 | 55 | 140,06 | 138,46 | 88 | 224,09 | 222,49 |
| 23 | 58,57 | 56,97 | 56 | 142,6 | 141 | 89 | 226,64 | 225,04 |
| 24 | 61,12 | 59,52 | 57 | 145,15 | 143,55 | 90 | 229,18 | 227,58 |
| 25 | 63,66 | 62,06 | 58 | 147,7 | 146,1 | 91 | 231,73 | 230,13 |
| 26 | 66,21 | 64,61 | 59 | 150,24 | 148,64 | 92 | 234,28 | 232,68 |
| 27 | 68,75 | 67,15 | 60 | 152,79 | 151,19 | 93 | 236,82 | 235,22 |
| 28 | 71,3 | 69,7 | 61 | 155,33 | 153,74 | 94 | 239,37 | 237,77 |
| 29 | 73,85 | 72,25 | 62 | 157,88 | 156,28 | 95 | 241,92 | 240,32 |
| 30 | 76,39 | 74,79 | 63 | 160,43 | 158,83 | 96 | 244,46 | 242,86 |
| 31 | 78,94 | 77,34 | 64 | 162,97 | 161,37 | 97 | 247,01 | 245,41 |
| 32 | 81,49 | 79,89 | 65 | 165,52 | 163,91 | 98 | 249,55 | 247,95 |
| 33 | 84,03 | 82,43 | 66 | 168,07 | 166,47 | 99 | 252,1 | 250,5 |
| 34 | 86,58 | 84,98 | 67 | 170,61 | 169,01 | 100 | 254,65 | 253,05 |
| 35 | 89,13 | 87,53 | 68 | 173,16 | 171,56 | 101 | 257,19 | 255,59 |
| 36 | 91,67 | 90,07 | 69 | 175,71 | 174,11 | 102 | 259,74 | 258,14 |
| 37 | 94,22 | 92,62 | 70 | 178,25 | 176,65 | 103 | 262,29 | 260,69 |
| 38 | 96,77 | 95,17 | 71 | 180,8 | 179,2 | 104 | 264,83 | 263,23 |
| 39 | 99,31 | 97,71 | 72 | 183,35 | 181,75 | 105 | 267,38 | 265,78 |
| 40 | 101,86 | 100,26 | 73 | 185,89 | 184,29 | 106 | 269,93 | 268,33 |
| 41 | 104,41 | 102,81 | 74 | 188,44 | 186,84 | 107 | 272,47 | 270,87 |
| 42 | 106,95 | 105,35 | 75 | 190,99 | 189,39 | 108 | 275,02 | 273,42 |
| 43 | 109,5 | 107,9 | 76 | 193,53 | 191,93 | 109 | 277,57 | 275,97 |
| 44 | 112,05 | 110,44 | 77 | 196,08 | 194,48 | 110 | 280,11 | 278,51 |
| 45 | 114,59 | 112,99 | 78 | 198,62 | 197,03 | 111 | 282,66 | 281,06 |
| 46 | 117,14 | 115,54 | 79 | 201,17 | 199,57 | 112 | 285,21 | 283,61 |
| 47 | 119,68 | 118,08 | 80 | 203,72 | 202,12 | 113 | 287,75 | 286,15 |
| 48 | 122,23 | 120,63 | 81 | 206,26 | 204,66 | 114 | 290,3 | 288,7 |
| 49 | 124,78 | 123,18 | 82 | 208,81 | 207,21 | 115 | 292,85 | 291,24 |
| 50 | 127,32 | 125,72 | 83 | 211,36 | 209,76 | 116 | 295,39 | 293,79 |
| 51 | 129,87 | 128,27 | 84 | 213,9 | 212,3 | 117 | 297,94 | 296,36 |
| 52 | 132,42 | 130,82 | 85 | 216,45 | 214,85 | 118 | 300,48 | 298,88 |
| 53 | 134,96 | 133,36 | 86 | 219 | 217,4 | 119 | 303,03 | 301,43 |
| 54 | 137,51 | 135,91 | 87 | 221,54 | 219,94 | 120 | 305,58 | 303,98 |
| Zahnteilung 14 mm | ||||||||
| Zähnezahl | Wirk-Ø (mm) |
Außen-Ø (mm) |
Zähnezahl | Wirk-Ø (mm) |
Außen-Ø (mm) |
Zähnezahl | Wirk-Ø (mm) |
Außen-Ø (mm) |
| 28 | 124,78 | 121,98 | 59 | 262,92 | 260,12 | 91 | 405,53 | 402,73 |
| 29 | 129,23 | 126,43 | 60 | 267,38 | 264,58 | 92 | 409,98 | 407,18 |
| 30 | 133,69 | 130,89 | 61 | 271,84 | 269,04 | 93 | 414,44 | 411,64 |
| 31 | 138,15 | 135,35 | 62 | 276,29 | 273,49 | 94 | 418,9 | 416,1 |
| 32 | 142,6 | 139,8 | 63 | 280,75 | 277,95 | 95 | 423,35 | 420,55 |
| 33 | 147,06 | 144,26 | 64 | 285,21 | 282,41 | 96 | 427,81 | 425,01 |
| 34 | 151,52 | 148,72 | 65 | 289,66 | 286,86 | 97 | 432,26 | 429,47 |
| 35 | 155,97 | 153,17 | 66 | 294,12 | 291,32 | 98 | 436,72 | 433,92 |
| 36 | 160,43 | 157,63 | 67 | 298,57 | 295,78 | 99 | 441,17 | 438,37 |
| 37 | 164,88 | 162,09 | 68 | 303,03 | 300,23 | 100 | 445,63 | 442,83 |
| 38 | 169,34 | 166,54 | 69 | 307,49 | 304,69 | 101 | 450,09 | 447,29 |
| 39 | 173,8 | 171 | 71 | 316,4 | 313,6 | 102 | 454,55 | 451,75 |
| 40 | 178,25 | 175,45 | 72 | 320,86 | 318,06 | 103 | 459 | 456,2 |
| 41 | 182,71 | 179,91 | 73 | 325,31 | 322,51 | 104 | 463,46 | 460,66 |
| 42 | 187,17 | 184,37 | 74 | 329,97 | 326,97 | 105 | 467,92 | 465,12 |
| 43 | 191,62 | 188,82 | 75 | 334,23 | 331,43 | 106 | 472,37 | 469,57 |
| 44 | 196,08 | 193,28 | 76 | 338,68 | 335,88 | 107 | 476,83 | 474,03 |
| 45 | 200,54 | 197,74 | 77 | 343,14 | 340,34 | 108 | 481,28 | 478,49 |
| 46 | 204,99 | 202,19 | 78 | 347,59 | 344,8 | 109 | 485,74 | 482,94 |
| 47 | 209,45 | 206,65 | 79 | 352,05 | 349,25 | 110 | 490,2 | 487,4 |
| 48 | 213,9 | 211,11 | 80 | 356,51 | 353,71 | 111 | 494,65 | 491,85 |
| 49 | 218,36 | 215,56 | 81 | 360,96 | 358,16 | 112 | 499,11 | 496,31 |
| 50 | 222,82 | 220,02 | 82 | 365,42 | 362,62 | 113 | 503,57 | 500,77 |
| 51 | 227,27 | 224,47 | 83 | 369,88 | 367,08 | 114 | 508,02 | 505,22 |
| 52 | 231,73 | 228,93 | 84 | 374,33 | 371,53 | 115 | 512,48 | 509,68 |
| 53 | 236,19 | 233,39 | 85 | 378,79 | 375,99 | 116 | 516,94 | 514,14 |
| 54 | 240,64 | 237,84 | 86 | 383,25 | 380,45 | 117 | 521,39 | 518,59 |
| 55 | 245,1 | 242,3 | 87 | 387,7 | 384,9 | 118 | 525,85 | 523,05 |
| 56 | 249,55 | 246,76 | 88 | 392,16 | 389,36 | 119 | 530,3 | 527,51 |
| 57 | 254,01 | 251,21 | 89 | 396,61 | 393,82 | 120 | 534,76 | 531,96 |
| 58 | 258,47 | 255,67 | 90 | 401,07 | 398,27 | |||
| Außendurchmessertoleranzen | ||||
| Außen- durchmesser |
zulässige Toleranz |
zulässige Rundlauf- abweichung |
Vordreh Übermaß (da) + |
|
| mm von | mm bis | mm | mm | mm |
| 0 | 50 | +0,05 | 0,04 | 1 |
| 51 | 100 | +0,08 | 0,05 | |
| 101 | 150 | +0,10 | 0,07 | |
| 151 | 200 | +0,12 | 0,10 | |
| 201 | 300 | +0,15 | 0,12 | |
| 301 | 500 | +0,18 | +0,03 pro 100mm Außen- durchmesser |
|
| 501 | ... | +0,20 | ||
| Planlauftoleranz | |
| Außen- durchmesser |
zulässige Rundlauf- abweichung |
| mm | mm |
| bis 101,60 | 0.1 |
| über 101,60 bis 250,00 |
0,1 +0,1mm pro 100mm Außen- durchmesser |
| über 251,00 | 0,25 +0,05mm pro 100mm Außen- durchmesser |
| Oberfläche Rz | |
| Teilung | zul. Rauhtiefe Rz |
| 8 mm | Rz < 16 |
| 14 mm | Rz < 25 |
Um optimale Leistungen und eine möglichst hohe Lebensdauer zu erreichen, müssen Zahnriemen selbstverständlich korrekt eingebaut, gespannt und ausgerichtet werden. Es empfiehlt sich, die Riemen vor dem Einbau auf eventuelle Transport- und Lagerschäden zu untersuchen.
Die richtige Montage
Riemenscheiben und Riemen müssen stets fluchtend montiert werden. Dabei dürfen die Riemen nicht unter den minimal zulässigen Scheibendurchmesser gebogen oder geknickt werden. Das entspricht etwa 50 mm bei Riemen mit Teilung 8 mm und rund 125 mm bei Riemen mit Teilung 14 mm. Nicht fluchtende Antriebe verursachen unterschiedliche Riemen- und Randspannungen sowie extremen Seitentrieb. Folgen davon sind erhöhte Laufgeräusche und stärkerer Riemenverschleiß. Der Parallelitätsfehler der Scheiben sollte daher höchstens 0,5 % des Achsabstands betragen und die Winkelgenauigkeit mit maximal 0,25° Winkelfehler eingehalten werden.
Die richtige Riemenvorspannung
Bitte spannen Sie den Riemen mit der berechneten Vorspannkraft und prüfen Sie diese nach einer Einlaufzeit von ca. 5 Minuten! Hiernach sollte der Riemen wieder auf diesen Wert gespannt werden, wenn dieser sich verändert haben sollte. Nach weiteren 8 Betriebsstunden sollte dann der Riemen nochmals geprüft werden und dann falls notwendig auf den „gebrauchten Wert“ aus der Berechnung nachgespannt werden.
Fehlerursachen und Korrekturmaßnahmen entnehmen Sie bitte dem nachfolgenden Dokument:
| Riemenlänge mm |
minimaler Verstellbereich für Installation |
benötigter Verstellbereich zum Spannen |
|
| 8M | 14M | 8M, 14M | |
| kleiner als 1525 | 34,5 mm | 59,5 mm | 2,5 mm |
| 1525 - 3050 | 37,0 mm | 62,0 mm | 5,0 mm |
| größer als 3050 | 39,5 mm | 64,5 mm | 7,5 mm |
| 8M - Spezifische Grundleistung (kW) | |||||||||||||||||||||
| Drehzahl Antriebs- seitig |
Zähnezahl Antriebsseitig | ||||||||||||||||||||
| 22 | 25 | 28 | 30 | 32 | 34 | 36 | 38 | 40 | 42 | 45 | 48 | 50 | 53 | 56 | 60 | 63 | 67 | 71 | 75 | 80 | |
| 15 | 0.13 | 0.14 | 0.16 | 0.18 | 0.19 | 0.21 | 0.22 | 0.23 | 0.25 | 0.26 | 0.29 | 0.31 | 0.33 | 0.35 | 0.38 | 0.41 | 0.44 | 0.47 | 0.51 | 0.55 | 0.59 |
| 25 | 0.20 | 0.23 | 0.26 | 0.28 | 0.31 | 0.33 | 0.35 | 0.38 | 0.40 | 0.42 | 0.46 | 0.50 | 0.52 | 0.56 | 0.60 | 0.66 | 0.70 | 0.76 | 0.82 | 0.88 | 0.96 |
| 40 | 0.31 | 0.36 | 0.41 | 0.44 | 0.47 | 0.51 | 0.54 | 0.58 | 0.62 | 0.65 | 0.71 | 0.77 | 0.81 | 0.87 | 0.94 | 1.0 | 1.1 | 1.2 | 1.3 | 1.4 | 1.5 |
| 60 | 0.45 | 0.52 | 0.59 | 0.64 | 0.69 | 0.74 | 0.79 | 0.84 | 0.90 | 0.95 | 1.0 | 1.12 | 1.2 | 1.3 | 1.4 | 1.5 | 1.6 | 1.7 | 1.9 | 2.0 | 2.2 |
| 80 | 0.58 | 0.67 | 0.77 | 0.83 | 0.89 | 0.96 | 1.0 | 1.1 | 1.2 | 1.2 | 1.4 | 1.5 | 1.5 | 1.7 | 1.8 | 1.9 | 2.1 | 2.2 | 2.4 | 2.6 | 2.8 |
| 100 | 0.71 | 0.82 | 0.94 | 1.0 | 1.1 | 1.2 | 1.3 | 1.3 | 1.4 | 1.5 | 1.7 | 1.8 | 1.9 | 2.0 | 2.2 | 2.4 | 2.6 | 2.8 | 3.0 | 3.2 | 3.5 |
| 117 | 0.82 | 0.95 | 1.1 | 1.2 | 1.3 | 1.4 | 1.5 | 1.6 | 1.7 | 1.8 | 1.9 | 2.1 | 2.2 | 2.4 | 2.5 | 2.8 | 3.0 | 3.2 | 3.5 | 3.7 | 4.1 |
| 200 | 1.3 | 1.5 | 1.8 | 1.9 | 2.1 | 2.2 | 2.4 | 2.6 | 2.7 | 2.9 | 3.1 | 3.4 | 3.6 | 3.9 | 4.2 | 4.6 | 4.9 | 5.3 | 5.7 | 6.1 | 6.7 |
| 233 | 1.5 | 1.8 | 2.0 | 2.2 | 2.4 | 2.6 | 2.7 | 2.9 | 3.1 | 3.3 | 3.6 | 3.9 | 4.1 | 4.5 | 4.8 | 5.2 | 5.6 | 6.1 | 6.6 | 7.1 | 7.7 |
| 300 | 1.9 | 2.2 | 2.6 | 2.8 | 3.0 | 3.2 | 3.5 | 3.7 | 3.9 | 4.2 | 4.6 | 5.0 | 5.2 | 5.6 | 6.1 | 6.6 | 7.1 | 7.7 | 8.3 | 9.0 | 9.8 |
| 350 | 2.2 | 2.6 | 2.9 | 3.2 | 3.5 | 3.7 | 4.0 | 4.3 | 4.5 | 4.8 | 5.3 | 5.7 | 6.0 | 6.5 | 7.0 | 7.6 | 8.2 | 8.9 | 9.6 | 10 | 11 |
| 400 | 2.5 | 2.9 | 3.3 | 3.6 | 3.9 | 4.2 | 4.5 | 4.8 | 5.1 | 5.5 | 5.9 | 6.5 | 6.8 | 7.3 | 7.9 | 8.6 | 9.2 | 10 | 11 | 12 | 13 |
| 500 | 3.1 | 3.6 | 4.1 | 4.4 | 4.8 | 5.1 | 5.5 | 5.9 | 6.3 | 6.7 | 7.3 | 7.9 | 8.4 | 9.0 | 9.7 | 11 | 11 | 12 | 13 | 14 | 16 |
| 575 | 3.5 | 4.0 | 4.6 | 5.0 | 5.4 | 5.8 | 6.3 | 6.7 | 7.1 | 7.6 | 8.3 | 9.0 | 9.5 | 10 | 11 | 12 | 13 | 14 | 15 | 16 | 18 |
| 600 | 3.6 | 4.2 | 4.8 | 5.2 | 5.6 | 6.1 | 6.5 | 7.0 | 7.4 | 7.9 | 8.6 | 9.4 | 9.9 | 11 | 11 | 13 | 13 | 15 | 16 | 17 | 19 |
| 690 | 4.1 | 4.8 | 5.4 | 5.9 | 6.4 | 6.9 | 7.4 | 7.9 | 8.4 | 9.0 | 9.8 | 11 | 11 | 12 | 13 | 14 | 15 | 17 | 18 | 19 | 21 |
| 720 | 4.3 | 4.9 | 5.7 | 6.2 | 6.7 | 7.2 | 7.7 | 8.2 | 8.8 | 9.3 | 10 | 11.1 | 12 | 13 | 14 | 15 | 16 | 17 | 19 | 20 | 22 |
| 800 | 4.7 | 5.4 | 6.2 | 6.8 | 7.3 | 7.9 | 8.5 | 9.1 | 9.7 | 10 | 11 | 12 | 13 | 14 | 15 | 16 | 18 | 19 | 21 | 22 | 24 |
| 900 | 5.2 | 6.1 | 6.9 | 7.5 | 8.1 | 8.8 | 9.4 | 10.1 | 11 | 11 | 12 | 14 | 14 | 15 | 17 | 18 | 20 | 21 | 23 | 25 | 27 |
| 960 | 5.5 | 6.4 | 7.3 | 8.0 | 8.6 | 9.3 | 10 | 11 | 11 | 12 | 13 | 14 | 15 | 16 | 18 | 19 | 21 | 23 | 24 | 26 | 29 |
| 1000 | 5.7 | 6.7 | 7.6 | 8.3 | 9.0 | 9.7 | 10 | 11 | 12 | 13 | 14 | 15 | 16 | 17 | 18 | 20 | 21 | 23 | 25 | 27 | 30 |
| 1200 | 6.7 | 7.8 | 9.0 | 9.8 | 11 | 11 | 12 | 13 | 14 | 15 | 16 | 18 | 19 | 20 | 22 | 24 | 25 | 28 | 30 | 32 | 35 |
| 1440 | 7.9 | 9.2 | 11 | 12 | 12 | 13 | 14 | 15 | 16 | 18 | 19 | 21 | 22 | 24 | 26 | 28 | 30 | 33 | 35 | 38 | 42 |
| 1800 | 9.7 | 11 | 13 | 14 | 15 | 16 | 18 | 19 | 20 | 21 | 23 | 26 | 27 | 29 | 31 | 34 | 37 | 40 | 43 | 47 | 51 |
| 2000 | 11 | 12 | 14 | 15 | 17 | 18 | 19 | 21 | 22 | 24 | 26 | 28 | 30 | 32 | 34 | 38 | 40 | 44 | 48 | 52 | 56 |
| 2500 | 13 | 15 | 17 | 19 | 20 | 22 | 24 | 25 | 27 | 29 | 32 | 34 | 36 | 39 | 42 | 46 | 49 | 54 | 58 | 63 | 69 |
| 2880 | 15 | 17 | 20 | 21 | 23 | 25 | 27 | 29 | 31 | 33 | 36 | 39 | 41 | 44 | 48 | 52 | 56 | 61 | 66 | 71 | 78 |
| 3400 | 17 | 20 | 23 | 25 | 27 | 29 | 31 | 33 | 36 | 38 | 41 | 45 | 47 | 51 | 55 | 61 | 65 | 70 | 76 | 82 | 90 |
| 4000 | 20 | 23 | 26 | 29 | 31 | 33 | 36 | 38 | 41 | 44 | 48 | 52 | 55 | 59 | 63 | 70 | 74 | 81 | 87 | 94 | 103 |
| 4500 | 22 | 25 | 29 | 32 | 34 | 37 | 40 | 42 | 45 | 48 | 53 | 57 | 60 | 65 | 70 | 77 | 82 | 89 | 96 | 103 | 113 |
| 5000 | 24 | 28 | 32 | 35 | 38 | 40 | 43 | 46 | 50 | 53 | 58 | 63 | 66 | 71 | 76 | 84 | 89 | 97 | 104 | 112 | |
| 6000 | 28 | 32 | 37 | 40 | 44 | 47 | 51 | 54 | 58 | 61 | 67 | 72 | 76 | 82 | 88 | 96 | 102 | ||||
| 7000 | 32 | 37 | 42 | 46 | 50 | 53 | 57 | 61 | 65 | 69 | 75 | 81 | 85 | 92 | |||||||
| Die schattierten Angaben setzen eine Geschwindigkeit von über 50 m/s voraus. Spezielle Hochgeschwindigkeitszahnräder werden benötigt. | |||||||||||||||||||||
| 8M - Spezifische Grundleistung (kW) | |||||||||||||||||||||
| Drehzahl Antriebs- seitig |
Zähnezahl Antriebsseitig | ||||||||||||||||||||
| 22 | 25 | 28 | 30 | 32 | 34 | 36 | 38 | 40 | 42 | 45 | 48 | 50 | 53 | 56 | 60 | 63 | 67 | 71 | 75 | 80 | |
| 15 | 0.22 | 0.25 | 0.29 | 0.31 | 0.34 | 0.36 | 0.38 | 0.41 | 0.44 | 0.46 | 0.50 | 0.54 | 0.57 | 0.61 | 0.66 | 0.72 | 0.76 | 0.82 | 0.89 | 0.95 | 1.04 |
| 25 | 0.35 | 0.40 | 0.46 | 0.50 | 0.54 | 0.58 | 0.62 | 0.66 | 0.70 | 0.74 | 0.81 | 0.87 | 0.92 | 0.99 | 1.06 | 1.15 | 1.2 | 1.3 | 1.4 | 1.5 | 1.7 |
| 40 | 0.54 | 0.62 | 0.71 | 0.77 | 0.83 | 0.89 | 0.95 | 1.02 | 1.08 | 1.1 | 1.2 | 1.3 | 1.4 | 1.5 | 1.6 | 1.8 | 1.9 | 2.1 | 2.2 | 2.4 | 2.6 |
| 60 | 0.78 | 0.90 | 1.03 | 1.1 | 1.2 | 1.3 | 1.4 | 1.5 | 1.6 | 1.7 | 1.8 | 2.0 | 2.1 | 2.2 | 2.4 | 2.6 | 2.8 | 3.0 | 3.2 | 3.5 | 3.8 |
| 80 | 1.02 | 1.2 | 1.3 | 1.5 | 1.6 | 1.7 | 1.8 | 1.9 | 2.0 | 2.2 | 2.4 | 2.6 | 2.7 | 2.9 | 3.1 | 3.4 | 3.6 | 3.9 | 4.2 | 4.6 | 5.0 |
| 100 | 1.2 | 1.4 | 1.6 | 1.8 | 1.9 | 2.1 | 2.2 | 2.4 | 2.5 | 2.7 | 2.9 | 3.2 | 3.3 | 3.6 | 3.8 | 4.2 | 4.5 | 4.8 | 5.2 | 5.6 | 6.1 |
| 117 | 1.4 | 1.7 | 1.9 | 2.1 | 2.2 | 2.4 | 2.6 | 2.7 | 2.9 | 3.1 | 3.4 | 3.6 | 3.8 | 4.1 | 4.4 | 4.8 | 5.2 | 5.6 | 6.1 | 6.5 | 7.1 |
| 200 | 2.3 | 2.7 | 3.1 | 3.4 | 3.6 | 3.9 | 4.2 | 4.5 | 4.8 | 5.1 | 5.5 | 6.0 | 6.3 | 6.8 | 7.3 | 8.0 | 8.5 | 9.2 | 10.0 | 10.7 | 11.7 |
| 233 | 2.7 | 3.1 | 3.6 | 3.9 | 4.2 | 4.5 | 4.8 | 5.1 | 5.5 | 5.8 | 6.3 | 6.9 | 7.2 | 7.8 | 8.4 | 9.2 | 9.8 | 10.6 | 11.5 | 12 | 14 |
| 300 | 3.4 | 3.9 | 4.5 | 4.9 | 5.3 | 5.7 | 6.1 | 6.5 | 6.9 | 7.3 | 8.0 | 8.7 | 9.1 | 9.9 | 10.6 | 12 | 12 | 13 | 15 | 16 | 17 |
| 350 | 3.9 | 4.5 | 5.2 | 5.6 | 6.0 | 6.5 | 7.0 | 7.5 | 7.9 | 8.4 | 9.2 | 10.0 | 10.5 | 11 | 12 | 13 | 14 | 16 | 17 | 18 | 20 |
| 400 | 4.4 | 5.1 | 5.8 | 6.3 | 6.8 | 7.3 | 7.9 | 8.4 | 9.0 | 9.5 | 10.4 | 11 | 12 | 13 | 14 | 15 | 16 | 18 | 19 | 20 | 22 |
| 500 | 5.4 | 6.2 | 7.1 | 7.7 | 8.4 | 9.0 | 9.7 | 10.3 | 11 | 12 | 13 | 14 | 15 | 16 | 17 | 19 | 20 | 22 | 23 | 25 | 28 |
| 575 | 6.1 | 7.1 | 8.1 | 8.8 | 9.5 | 10.2 | 11 | 12 | 13 | 13 | 15 | 16 | 17 | 18 | 19 | 21 | 23 | 25 | 27 | 29 | 31 |
| 600 | 6.3 | 7.3 | 8.4 | 9.1 | 9.9 | 10.6 | 11 | 12 | 13 | 14 | 15 | 16 | 17 | 19 | 20 | 22 | 23 | 26 | 28 | 30 | 33 |
| 690 | 7.2 | 8.3 | 9.5 | 10.4 | 11 | 12 | 13 | 14 | 15 | 16 | 17 | 19 | 20 | 21 | 23 | 25 | 27 | 29 | 31 | 34 | 37 |
| 720 | 7.5 | 8.7 | 9.9 | 11 | 12 | 13 | 13 | 14 | 15 | 16 | 18 | 19 | 20 | 22 | 24 | 26 | 28 | 30 | 33 | 35 | 39 |
| 800 | 8.2 | 9.5 | 11 | 12 | 13 | 14 | 15 | 16 | 17 | 18 | 20 | 21 | 23 | 24 | 26 | 29 | 31 | 33 | 36 | 39 | 43 |
| 900 | 9.1 | 11 | 12 | 13 | 14 | 15 | 16 | 18 | 19 | 20 | 22 | 24 | 25 | 27 | 29 | 32 | 34 | 37 | 40 | 43 | 48 |
| 960 | 9.7 | 11 | 13 | 14 | 15 | 16 | 17 | 19 | 20 | 21 | 23 | 25 | 27 | 29 | 31 | 34 | 36 | 39 | 43 | 46 | 51 |
| 1000 | 10.0 | 12 | 13 | 14 | 16 | 17 | 18 | 19 | 21 | 22 | 24 | 26 | 28 | 30 | 32 | 35 | 38 | 41 | 44 | 48 | 52 |
| 1200 | 12 | 14 | 16 | 17 | 18 | 20 | 21 | 23 | 24 | 26 | 28 | 31 | 33 | 35 | 38 | 42 | 44 | 48 | 52 | 57 | 62 |
| 1440 | 14 | 16 | 19 | 20 | 22 | 24 | 25 | 27 | 29 | 31 | 34 | 36 | 39 | 42 | 45 | 49 | 53 | 57 | 62 | 67 | 73 |
| 1800 | 17 | 20 | 23 | 25 | 27 | 29 | 31 | 33 | 35 | 38 | 41 | 45 | 47 | 51 | 55 | 60 | 64 | 70 | 76 | 82 | 90 |
| 2000 | 19 | 22 | 25 | 27 | 29 | 32 | 34 | 36 | 39 | 41 | 45 | 49 | 52 | 56 | 60 | 66 | 71 | 77 | 84 | 90 | 99 |
| 2500 | 23 | 26 | 30 | 33 | 36 | 39 | 41 | 44 | 47 | 50 | 55 | 60 | 63 | 68 | 74 | 81 | 86 | 94 | 102 | 110 | 121 |
| 2880 | 26 | 30 | 34 | 37 | 41 | 44 | 47 | 50 | 54 | 57 | 63 | 68 | 72 | 78 | 84 | 92 | 98 | 107 | 116 | 125 | 137 |
| 3400 | 30 | 35 | 40 | 43 | 47 | 51 | 54 | 58 | 62 | 66 | 72 | 79 | 83 | 90 | 97 | 106 | 113 | 123 | 133 | 144 | 157 |
| 4000 | 34 | 40 | 46 | 50 | 54 | 58 | 63 | 67 | 72 | 76 | 83 | 91 | 96 | 103 | 111 | 122 | 130 | 141 | 153 | 165 | 180 |
| 4500 | 38 | 44 | 51 | 55 | 60 | 65 | 69 | 74 | 79 | 84 | 92 | 100 | 106 | 114 | 123 | 134 | 143 | 155 | 168 | 181 | 197 |
| 5000 | 42 | 49 | 56 | 61 | 66 | 71 | 76 | 81 | 87 | 92 | 101 | 109 | 115 | 124 | 134 | 146 | 156 | 169 | 182 | 196 | |
| 6000 | 49 | 57 | 65 | 71 | 77 | 82 | 88 | 95 | 101 | 107 | 117 | 127 | 133 | 143 | 154 | 168 | 179 | ||||
| 7000 | 56 | 65 | 74 | 80 | 87 | 93 | 100 | 107 | 114 | 121 | 131 | 142 | 150 | 161 | |||||||
| Die schattierten Angaben setzen eine Geschwindigkeit von über 50 m/s voraus. Spezielle Hochgeschwindigkeitszahnräder werden benötigt. | |||||||||||||||||||||
| 8M - Spezifische Grundleistung (kW) | |||||||||||||||||||||
| Drehzahl Antriebs- seitig |
Zähnezahl Antriebsseitig | ||||||||||||||||||||
| 22 | 25 | 28 | 30 | 32 | 34 | 36 | 38 | 40 | 42 | 45 | 48 | 50 | 53 | 56 | 60 | 63 | 67 | 71 | 75 | 80 | |
| 15 | 0.38 | 0.43 | 0.49 | 0.53 | 0.57 | 0.62 | 0.66 | 0.70 | 0.75 | 0.79 | 0.86 | 0.93 | 0.98 | 1.05 | 1.13 | 1.23 | 1.31 | 1.41 | 1.52 | 1.64 | 1.78 |
| 25 | 0.60 | 0.69 | 0.79 | 0.85 | 0.92 | 0.99 | 1.06 | 1.13 | 1.20 | 1.27 | 1.38 | 1.50 | 1.57 | 1.69 | 1.8 | 2.0 | 2.1 | 2.3 | 2.5 | 2.6 | 2.9 |
| 40 | 0.92 | 1.07 | 1.22 | 1.32 | 1.42 | 1.52 | 1.6 | 1.7 | 1.9 | 2.0 | 2.1 | 2.3 | 2.4 | 2.6 | 2.8 | 3.1 | 3.3 | 3.5 | 3.8 | 4.1 | 4.5 |
| 60 | 1.34 | 1.5 | 1.8 | 1.9 | 2.1 | 2.2 | 2.4 | 2.5 | 2.7 | 2.9 | 3.1 | 3.4 | 3.5 | 3.8 | 4.1 | 4.5 | 4.8 | 5.2 | 5.6 | 6.0 | 6.5 |
| 80 | 1.7 | 2.0 | 2.3 | 2.5 | 2.7 | 2.9 | 3.1 | 3.3 | 3.5 | 3.7 | 4.1 | 4.4 | 4.6 | 5.0 | 5.3 | 5.8 | 6.2 | 6.7 | 7.3 | 7.8 | 8.5 |
| 100 | 2.1 | 2.5 | 2.8 | 3.1 | 3.3 | 3.5 | 3.8 | 4.0 | 4.3 | 4.6 | 5.0 | 5.4 | 5.7 | 6.1 | 6.6 | 7.2 | 7.7 | 8.3 | 9.0 | 9.6 | 10.5 |
| 117 | 2.5 | 2.9 | 3.3 | 3.5 | 3.8 | 4.1 | 4.4 | 4.7 | 5.0 | 5.3 | 5.8 | 6.2 | 6.6 | 7.1 | 7.6 | 8.3 | 8.9 | 9.6 | 10.4 | 11.2 | 12.2 |
| 200 | 4.0 | 4.6 | 5.3 | 5.8 | 6.2 | 6.7 | 7.2 | 7.7 | 8.2 | 8.7 | 9.4 | 10.2 | 10.8 | 11.6 | 12.5 | 13.7 | 14.6 | 15.8 | 17.1 | 18.4 | 20.1 |
| 233 | 4.6 | 5.3 | 6.1 | 6.6 | 7.1 | 7.7 | 8.2 | 8.8 | 9.4 | 10.0 | 10.9 | 11.8 | 12.4 | 13.4 | 14.4 | 15.7 | 16.8 | 18.2 | 19.7 | 21.2 | 23 |
| 300 | 5.8 | 6.7 | 7.7 | 8.3 | 9.0 | 9.7 | 10.4 | 11.1 | 11.8 | 12.6 | 13.7 | 14.9 | 15.7 | 16.9 | 18.2 | 19.9 | 21 | 23 | 25 | 27 | 29 |
| 350 | 6.7 | 7.7 | 8.8 | 9.6 | 10.4 | 11.1 | 12.0 | 12.8 | 13.6 | 14.5 | 15.8 | 17.1 | 18.1 | 19 | 21 | 23 | 24 | 27 | 29 | 31 | 34 |
| 400 | 7.5 | 8.7 | 10.0 | 10.8 | 11.7 | 12.6 | 13.5 | 14.4 | 15.4 | 16.4 | 17.8 | 19 | 20 | 22 | 24 | 26 | 28 | 30 | 33 | 35 | 38 |
| 500 | 9.2 | 10.7 | 12.2 | 13.3 | 14.3 | 15.4 | 16.6 | 18 | 19 | 20 | 22 | 24 | 25 | 27 | 29 | 32 | 34 | 37 | 40 | 43 | 47 |
| 575 | 10.4 | 12.1 | 13.9 | 15.1 | 16.3 | 18 | 19 | 20 | 21 | 23 | 25 | 27 | 29 | 31 | 33 | 36 | 39 | 42 | 46 | 49 | 54 |
| 600 | 10.8 | 12.6 | 14.4 | 15.6 | 17 | 18 | 20 | 21 | 22 | 24 | 26 | 28 | 30 | 32 | 34 | 38 | 40 | 44 | 47 | 51 | 56 |
| 690 | 12.3 | 14.3 | 16.3 | 18 | 19 | 21 | 22 | 24 | 25 | 27 | 29 | 32 | 34 | 36 | 39 | 43 | 46 | 50 | 54 | 58 | 64 |
| 720 | 12.8 | 14.8 | 17 | 18 | 20 | 22 | 23 | 25 | 26 | 28 | 31 | 33 | 35 | 38 | 41 | 45 | 48 | 52 | 56 | 61 | 66 |
| 800 | 14.1 | 16 | 19 | 20 | 22 | 24 | 25 | 27 | 29 | 31 | 34 | 37 | 39 | 42 | 45 | 49 | 53 | 57 | 62 | 67 | 73 |
| 900 | 15.6 | 18 | 21 | 23 | 24 | 26 | 28 | 30 | 32 | 34 | 37 | 41 | 43 | 46 | 50 | 55 | 59 | 64 | 69 | 74 | 82 |
| 960 | 16.6 | 19 | 22 | 24 | 26 | 28 | 30 | 32 | 34 | 36 | 40 | 43 | 46 | 49 | 53 | 58 | 62 | 68 | 73 | 79 | 87 |
| 1000 | 17 | 20 | 23 | 25 | 27 | 29 | 31 | 33 | 36 | 38 | 41 | 45 | 47 | 51 | 55 | 60 | 64 | 70 | 76 | 82 | 90 |
| 1200 | 20 | 24 | 27 | 29 | 32 | 34 | 37 | 39 | 42 | 45 | 49 | 53 | 56 | 60 | 65 | 71 | 76 | 83 | 90 | 97 | 106 |
| 1440 | 24 | 28 | 32 | 35 | 37 | 40 | 43 | 46 | 49 | 53 | 58 | 63 | 66 | 71 | 77 | 84 | 90 | 98 | 106 | 115 | 126 |
| 1800 | 29 | 34 | 39 | 42 | 46 | 49 | 53 | 57 | 60 | 64 | 70 | 77 | 81 | 87 | 94 | 103 | 110 | 120 | 130 | 141 | 154 |
| 2000 | 32 | 37 | 43 | 46 | 50 | 54 | 58 | 62 | 66 | 71 | 77 | 84 | 89 | 96 | 103 | 114 | 121 | 132 | 143 | 155 | 169 |
| 2500 | 39 | 45 | 52 | 57 | 61 | 66 | 71 | 76 | 81 | 86 | 95 | 103 | 109 | 117 | 126 | 139 | 148 | 161 | 175 | 189 | 207 |
| 2880 | 44 | 51 | 59 | 64 | 70 | 75 | 81 | 86 | 92 | 98 | 107 | 117 | 123 | 133 | 143 | 157 | 168 | 183 | 198 | 214 | 234 |
| 3400 | 51 | 60 | 68 | 74 | 81 | 87 | 93 | 100 | 107 | 114 | 124 | 135 | 142 | 154 | 166 | 182 | 194 | 211 | 229 | 247 | 270 |
| 4000 | 59 | 69 | 79 | 86 | 93 | 100 | 108 | 115 | 123 | 131 | 143 | 155 | 164 | 177 | 190 | 209 | 223 | 242 | 262 | 282 | 309 |
| 4500 | 65 | 76 | 87 | 95 | 103 | 111 | 119 | 127 | 136 | 145 | 158 | 172 | 181 | 195 | 210 | 230 | 246 | 267 | 288 | 310 | 339 |
| 5000 | 72 | 83 | 96 | 104 | 113 | 121 | 130 | 139 | 149 | 158 | 173 | 188 | 198 | 213 | 229 | 251 | 267 | 290 | 313 | 336 | |
| 6000 | 84 | 97 | 112 | 121 | 131 | 141 | 152 | 162 | 173 | 184 | 200 | 217 | 229 | 246 | 264 | 288 | 306 | ||||
| 7000 | 95 | 111 | 127 | 138 | 149 | 160 | 172 | 183 | 195 | 207 | 225 | 244 | 256 | 275 | |||||||
| Die schattierten Angaben setzen eine Geschwindigkeit von über 50 m/s voraus. Spezielle Hochgeschwindigkeitszahnräder werden benötigt. | |||||||||||||||||||||
| 8M - Spezifische Grundleistung (kW) | |||||||||||||||||||||
| Drehzahl Antriebs- seitig |
Zähnezahl Antriebsseitig | ||||||||||||||||||||
| 22 | 25 | 28 | 30 | 32 | 34 | 36 | 38 | 40 | 42 | 45 | 48 | 50 | 53 | 56 | 60 | 63 | 67 | 71 | 75 | 80 | |
| 15 | 0.65 | 0.75 | 0.85 | 0.92 | 0.99 | 1.06 | 1.14 | 1.21 | 1.29 | 1.36 | 1.48 | 1.60 | 1.7 | 1.8 | 1.9 | 2.1 | 2.2 | 2.4 | 2.6 | 2.8 | 3.1 |
| 25 | 1.03 | 1.19 | 1.36 | 1.47 | 1.6 | 1.7 | 1.8 | 1.9 | 2.1 | 2.2 | 2.4 | 2.6 | 2.7 | 2.9 | 3.1 | 3.4 | 3.6 | 3.9 | 4.2 | 4.5 | 5.0 |
| 40 | 1.6 | 1.8 | 2.1 | 2.3 | 2.4 | 2.6 | 2.8 | 3.0 | 3.2 | 3.4 | 3.7 | 4.0 | 4.2 | 4.5 | 4.8 | 5.3 | 5.6 | 6.1 | 6.6 | 7.1 | 7.7 |
| 60 | 2.3 | 2.7 | 3.0 | 3.3 | 3.6 | 3.8 | 4.1 | 4.4 | 4.6 | 4.9 | 5.4 | 5.8 | 6.1 | 6.6 | 7.0 | 7.7 | 8.2 | 8.9 | 9.6 | 10.3 | 11.2 |
| 80 | 3.0 | 3.5 | 4.0 | 4.3 | 4.6 | 5.0 | 5.3 | 5.7 | 6.0 | 6.4 | 7.0 | 7.6 | 8.0 | 8.6 | 9.2 | 10.1 | 10.7 | 11.6 | 12.5 | 13.5 | 14.7 |
| 100 | 3.7 | 4.3 | 4.9 | 5.3 | 5.7 | 6.1 | 6.5 | 7.0 | 7.4 | 7.9 | 8.6 | 9.3 | 9.8 | 10.5 | 11.3 | 12.4 | 13.2 | 14.3 | 15.4 | 16.6 | 18.1 |
| 117 | 4.2 | 4.9 | 5.6 | 6.1 | 6.6 | 7.0 | 7.5 | 8.1 | 8.6 | 9.1 | 9.9 | 10.8 | 11.3 | 12.2 | 13.1 | 14.3 | 15.2 | 16.5 | 17.9 | 19.2 | 21.0 |
| 200 | 6.9 | 8.0 | 9.1 | 9.9 | 10.7 | 11.5 | 12.3 | 13.2 | 14.0 | 14.9 | 16.3 | 17.6 | 19 | 20 | 21 | 24 | 25 | 27 | 29 | 32 | 35 |
| 233 | 7.9 | 9.2 | 10.5 | 11.4 | 12.3 | 13.2 | 14.2 | 15.2 | 16.2 | 17.2 | 19 | 20 | 21 | 23 | 25 | 27 | 29 | 31 | 34 | 37 | 40 |
| 300 | 10.0 | 11.6 | 13.2 | 14.3 | 15.5 | 16.7 | 18 | 19 | 20 | 22 | 24 | 26 | 27 | 29 | 31 | 34 | 37 | 40 | 43 | 46 | 51 |
| 350 | 11.5 | 13.3 | 15.2 | 17 | 18 | 19 | 21 | 22 | 23 | 25 | 27 | 30 | 31 | 34 | 36 | 39 | 42 | 46 | 50 | 53 | 58 |
| 400 | 13.0 | 15.0 | 17 | 19 | 20 | 22 | 23 | 25 | 27 | 28 | 31 | 33 | 35 | 38 | 41 | 45 | 48 | 52 | 56 | 60 | 66 |
| 500 | 16 | 18 | 21 | 23 | 25 | 27 | 29 | 30 | 33 | 35 | 38 | 41 | 43 | 47 | 50 | 55 | 59 | 64 | 69 | 74 | 81 |
| 575 | 18 | 21 | 24 | 26 | 28 | 30 | 32 | 35 | 37 | 39 | 43 | 47 | 49 | 53 | 57 | 62 | 67 | 73 | 79 | 85 | 93 |
| 600 | 19 | 22 | 25 | 27 | 29 | 31 | 34 | 36 | 38 | 41 | 45 | 48 | 51 | 55 | 59 | 65 | 69 | 75 | 82 | 88 | 96 |
| 690 | 21 | 25 | 28 | 31 | 33 | 36 | 38 | 41 | 44 | 46 | 51 | 55 | 58 | 63 | 67 | 74 | 79 | 86 | 93 | 100 | 110 |
| 720 | 22 | 26 | 29 | 32 | 34 | 37 | 40 | 43 | 45 | 48 | 53 | 57 | 60 | 65 | 70 | 77 | 82 | 89 | 97 | 104 | 114 |
| 800 | 24 | 28 | 32 | 35 | 38 | 41 | 44 | 47 | 50 | 53 | 58 | 63 | 66 | 72 | 77 | 85 | 90 | 98 | 107 | 115 | 126 |
| 900 | 27 | 31 | 36 | 39 | 42 | 45 | 49 | 52 | 56 | 59 | 65 | 70 | 74 | 80 | 86 | 94 | 101 | 110 | 119 | 128 | 140 |
| 960 | 29 | 33 | 38 | 41 | 45 | 48 | 52 | 55 | 59 | 63 | 68 | 74 | 79 | 85 | 91 | 100 | 107 | 116 | 126 | 136 | 149 |
| 1000 | 30 | 34 | 39 | 43 | 46 | 50 | 54 | 57 | 61 | 65 | 71 | 77 | 82 | 88 | 95 | 104 | 111 | 121 | 131 | 141 | 155 |
| 1200 | 35 | 41 | 46 | 50 | 55 | 59 | 63 | 68 | 72 | 77 | 84 | 91 | 96 | 104 | 112 | 123 | 131 | 143 | 155 | 167 | 183 |
| 1440 | 41 | 48 | 55 | 59 | 64 | 69 | 75 | 80 | 85 | 91 | 99 | 108 | 114 | 123 | 132 | 145 | 155 | 169 | 183 | 198 | 217 |
| 1800 | 50 | 58 | 67 | 73 | 79 | 85 | 91 | 98 | 104 | 111 | 121 | 132 | 139 | 150 | 162 | 178 | 190 | 207 | 224 | 242 | 265 |
| 2000 | 55 | 64 | 73 | 80 | 86 | 93 | 100 | 107 | 115 | 122 | 133 | 145 | 153 | 165 | 178 | 196 | 209 | 228 | 247 | 266 | 292 |
| 2500 | 67 | 78 | 90 | 98 | 106 | 114 | 122 | 131 | 140 | 149 | 163 | 177 | 187 | 202 | 218 | 239 | 255 | 278 | 301 | 325 | 356 |
| 2880 | 76 | 89 | 102 | 111 | 120 | 129 | 139 | 149 | 159 | 169 | 185 | 201 | 212 | 229 | 247 | 271 | 289 | 315 | 341 | 368 | 403 |
| 3400 | 88 | 103 | 118 | 128 | 139 | 150 | 161 | 172 | 184 | 196 | 214 | 233 | 245 | 265 | 285 | 313 | 334 | 364 | 394 | 425 | 465 |
| 4000 | 102 | 118 | 136 | 148 | 160 | 172 | 185 | 198 | 212 | 225 | 246 | 268 | 282 | 305 | 328 | 359 | 384 | 417 | 451 | 486 | 531 |
| 4500 | 113 | 131 | 150 | 164 | 177 | 191 | 205 | 219 | 234 | 249 | 272 | 296 | 312 | 337 | 362 | 396 | 423 | 459 | 496 | 534 | 583 |
| 5000 | 123 | 144 | 165 | 179 | 194 | 209 | 224 | 240 | 256 | 272 | 297 | 323 | 340 | 367 | 394 | 431 | 460 | 499 | 538 | 579 | |
| 6000 | 144 | 168 | 192 | 209 | 226 | 244 | 261 | 279 | 298 | 316 | 345 | 374 | 394 | 424 | 454 | 496 | 527 | ||||
| 7000 | 164 | 191 | 219 | 237 | 257 | 276 | 296 | 316 | 336 | 357 | 388 | 420 | 442 | 474 | |||||||
| Die schattierten Angaben setzen eine Geschwindigkeit von über 50 m/s voraus. Spezielle Hochgeschwindigkeitszahnräder werden benötigt. | |||||||||||||||||||||
| 14M - Spezifische Grundleistung (kW) | |||||||||||||||||||||||||
| Drehzahl Antriebs- seitig |
Zähnezahl Antriebsseitig | ||||||||||||||||||||||||
| 28 | 29 | 30 | 31 | 32 | 33 | 34 | 35 | 36 | 37 | 38 | 39 | 40 | 43 | 45 | 48 | 50 | 53 | 56 | 60 | 63 | 67 | 71 | 75 | 80 | |
| 15 | 0.90 | 0.93 | 0.96 | 1.0 | 1.0 | 1.1 | 1.1 | 1.1 | 1.2 | 1.2 | 1.2 | 1.3 | 1.3 | 1.4 | 1.5 | 1.6 | 1.7 | 1.8 | 1.9 | 2.0 | 2.2 | 2.3 | 2.5 | 2.6 | 2.8 |
| 25 | 1.4 | 1.4 | 1.5 | 1.6 | 1.6 | 1.7 | 1.7 | 1.8 | 1.8 | 1.9 | 1.9 | 2.0 | 2.0 | 2.2 | 2.3 | 2.5 | 2.6 | 2.8 | 3.0 | 3.2 | 3.4 | 3.6 | 3.9 | 4.1 | 4.4 |
| 40 | 2.1 | 2.2 | 2.3 | 2.3 | 2.4 | 2.5 | 2.6 | 2.7 | 2.7 | 2.8 | 2.9 | 3.0 | 3.1 | 3.3 | 3.5 | 3.8 | 3.9 | 4.2 | 4.5 | 4.8 | 5.1 | 5.4 | 5.8 | 6.2 | 6.7 |
| 60 | 3.0 | 3.1 | 3.2 | 3.3 | 3.4 | 3.5 | 3.7 | 3.8 | 3.9 | 4.0 | 4.1 | 4.3 | 4.4 | 4.7 | 5.0 | 5.3 | 5.6 | 6.0 | 6.3 | 6.9 | 7.2 | 7.8 | 8.3 | 8.8 | 9.5 |
| 80 | 3.8 | 4.0 | 4.1 | 4.3 | 4.4 | 4.6 | 4.7 | 4.9 | 5.0 | 5.2 | 5.3 | 5.5 | 5.6 | 6.1 | 6.4 | 6.9 | 7.2 | 7.7 | 8.2 | 8.8 | 9.3 | 10 | 11 | 11 | 12 |
| 100 | 4.6 | 4.8 | 5.0 | 5.2 | 5.3 | 5.5 | 5.7 | 5.9 | 6.1 | 6.3 | 6.4 | 6.6 | 6.8 | 7.4 | 7.8 | 8.3 | 8.7 | 9.3 | 9.9 | 11 | 11 | 12 | 13 | 14 | 15 |
| 117 | 5.3 | 5.5 | 5.7 | 5.9 | 6.1 | 6.3 | 6.5 | 6.7 | 7.0 | 7.2 | 7.4 | 7.6 | 7.8 | 8.5 | 8.9 | 9.6 | 10 | 11 | 11 | 12 | 13 | 14 | 15 | 16 | 17 |
| 200 | 8.4 | 8.7 | 9.1 | 9.4 | 9.7 | 10 | 10 | 11 | 11 | 11 | 12 | 12 | 12 | 13 | 14 | 15 | 16 | 17 | 18 | 20 | 21 | 22 | 24 | 25 | 28 |
| 233 | 9.6 | 10 | 10 | 11 | 11 | 11 | 12 | 12 | 13 | 13 | 13 | 14 | 14 | 15 | 16 | 17 | 18 | 19 | 21 | 22 | 24 | 26 | 27 | 29 | 31 |
| 300 | 12 | 12 | 13 | 13 | 14 | 14 | 15 | 15 | 16 | 16 | 17 | 17 | 18 | 19 | 20 | 22 | 23 | 24 | 26 | 28 | 30 | 32 | 34 | 36 | 39 |
| 350 | 14 | 14 | 15 | 15 | 16 | 16 | 17 | 17 | 18 | 19 | 19 | 20 | 20 | 22 | 23 | 25 | 26 | 28 | 30 | 32 | 34 | 36 | 39 | 42 | 45 |
| 400 | 15 | 16 | 17 | 17 | 18 | 18 | 19 | 20 | 20 | 21 | 21 | 22 | 23 | 25 | 26 | 28 | 29 | 31 | 33 | 36 | 38 | 41 | 44 | 47 | 51 |
| 500 | 19 | 19 | 20 | 21 | 22 | 22 | 23 | 24 | 24 | 25 | 26 | 27 | 28 | 30 | 31 | 34 | 35 | 38 | 40 | 44 | 46 | 50 | 53 | 57 | 62 |
| 575 | 21 | 22 | 23 | 23 | 24 | 25 | 26 | 27 | 28 | 28 | 29 | 30 | 31 | 34 | 36 | 38 | 40 | 43 | 46 | 49 | 52 | 56 | 60 | 64 | 70 |
| 600 | 22 | 23 | 23 | 24 | 25 | 26 | 27 | 28 | 29 | 30 | 30 | 31 | 32 | 35 | 37 | 40 | 42 | 44 | 47 | 51 | 54 | 58 | 63 | 67 | 72 |
| 690 | 25 | 25 | 26 | 27 | 28 | 29 | 30 | 31 | 32 | 33 | 34 | 35 | 36 | 40 | 42 | 45 | 47 | 50 | 53 | 58 | 61 | 66 | 71 | 76 | 82 |
| 720 | 25 | 26 | 27 | 28 | 29 | 30 | 32 | 33 | 34 | 35 | 36 | 37 | 38 | 41 | 43 | 46 | 49 | 52 | 55 | 60 | 64 | 69 | 73 | 78 | 85 |
| 800 | 28 | 29 | 30 | 31 | 32 | 33 | 35 | 36 | 37 | 38 | 39 | 40 | 41 | 45 | 47 | 51 | 53 | 57 | 61 | 66 | 70 | 75 | 81 | 86 | 93 |
| 900 | 31 | 32 | 33 | 34 | 36 | 37 | 38 | 39 | 41 | 42 | 43 | 45 | 46 | 50 | 52 | 56 | 59 | 63 | 67 | 73 | 77 | 83 | 89 | 95 | 103 |
| 960 | 33 | 34 | 35 | 36 | 38 | 39 | 40 | 42 | 43 | 44 | 46 | 47 | 48 | 53 | 55 | 60 | 62 | 67 | 71 | 77 | 82 | 88 | 94 | 101 | 109 |
| 1000 | 34 | 35 | 36 | 38 | 39 | 40 | 42 | 43 | 45 | 46 | 47 | 49 | 50 | 54 | 57 | 62 | 65 | 69 | 74 | 80 | 85 | 91 | 98 | 104 | 113 |
| 1200 | 40 | 41 | 43 | 44 | 46 | 47 | 49 | 51 | 52 | 54 | 55 | 57 | 59 | 64 | 67 | 72 | 76 | 81 | 86 | 94 | 99 | 107 | 114 | 122 | 132 |
| 1440 | 46 | 48 | 50 | 52 | 54 | 55 | 57 | 59 | 61 | 63 | 65 | 67 | 69 | 75 | 78 | 85 | 89 | 95 | 101 | 109 | 116 | 125 | 134 | 143 | 154 |
| 1800 | 56 | 58 | 60 | 63 | 65 | 67 | 69 | 72 | 74 | 76 | 78 | 81 | 83 | 90 | 95 | 102 | 107 | 114 | 122 | 132 | 140 | 150 | 161 | 172 | 186 |
| 2000 | 61 | 64 | 66 | 68 | 71 | 73 | 76 | 78 | 81 | 83 | 86 | 88 | 91 | 99 | 104 | 112 | 117 | 125 | 133 | 144 | 153 | 164 | 176 | 187 | 202 |
| 2500 | 74 | 77 | 80 | 83 | 86 | 88 | 91 | 94 | 97 | 100 | 103 | 106 | 110 | 119 | 125 | 134 | 141 | 150 | 160 | 173 | 183 | 196 | 210 | 223 | 240 |
| 2880 | 83 | 86 | 90 | 93 | 96 | 100 | 103 | 106 | 110 | 113 | 116 | 120 | 123 | 133 | 140 | 151 | 158 | 168 | 179 | 193 | 204 | 218 | 233 | ||
| 3400 | 95 | 99 | 103 | 107 | 110 | 114 | 118 | 122 | 125 | 129 | 133 | 137 | 141 | 152 | 160 | 171 | 179 | 191 | 203 | 218 | 230 | ||||
| 4000 | 109 | 113 | 117 | 122 | 126 | 130 | 134 | 138 | 143 | 147 | 151 | 155 | 159 | 172 | 181 | 193 | 202 | 214 | |||||||
| 4500 | 120 | 124 | 129 | 133 | 138 | 142 | 147 | 151 | 156 | 160 | 165 | 170 | 174 | 188 | 196 | 210 | |||||||||
| 5000 | 130 | 135 | 140 | 145 | 149 | 154 | 159 | 164 | 169 | 173 | 178 | 183 | 187 | 202 | |||||||||||
| 6000 | 149 | 154 | 160 | 165 | 170 | 175 | 181 | 186 | 191 | ||||||||||||||||
| Die schattierten Angaben setzen eine Geschwindigkeit von über 50 m/s voraus. Spezielle Hochgeschwindigkeitszahnräder werden benötigt. | |||||||||||||||||||||||||
| 14M - Spezifische Grundleistung (kW) | |||||||||||||||||||||||||
| Drehzahl Antriebs- seitig |
Zähnezahl Antriebsseitig | ||||||||||||||||||||||||
| 28 | 29 | 30 | 31 | 32 | 33 | 34 | 35 | 36 | 37 | 38 | 39 | 40 | 43 | 45 | 48 | 50 | 53 | 56 | 60 | 63 | 67 | 71 | 75 | 80 | |
| 15 | 1.7 | 1.7 | 1.8 | 1.8 | 1.9 | 2.0 | 2.0 | 2.1 | 2.2 | 2.2 | 2.3 | 2.4 | 2.4 | 2.6 | 2.8 | 3.0 | 3.1 | 3.3 | 3.5 | 3.8 | 4.0 | 4.3 | 4.6 | 4.9 | 5.2 |
| 25 | 2.6 | 2.7 | 2.8 | 2.9 | 3.0 | 3.1 | 3.2 | 3.3 | 3.4 | 3.5 | 3.6 | 3.7 | 3.8 | 4.1 | 4.3 | 4.6 | 4.8 | 5.1 | 5.5 | 5.9 | 6.2 | 6.7 | 7.1 | 7.6 | 8.2 |
| 40 | 3.9 | 4.0 | 4.2 | 4.3 | 4.5 | 4.6 | 4.8 | 4.9 | 5.1 | 5.2 | 5.4 | 5.5 | 5.7 | 6.2 | 6.5 | 6.9 | 7.3 | 7.7 | 8.2 | 8.9 | 9.4 | 10.1 | 10.8 | 11.5 | 12.4 |
| 60 | 5.5 | 5.7 | 5.9 | 6.1 | 6.3 | 6.6 | 6.8 | 7.0 | 7.2 | 7.4 | 7.6 | 7.9 | 8.1 | 8.7 | 9.2 | 9.9 | 10.3 | 11.0 | 11.7 | 12.7 | 13.4 | 14.4 | 15.4 | 16.4 | 18 |
| 80 | 7.1 | 7.3 | 7.6 | 7.9 | 8.1 | 8.4 | 8.7 | 9.0 | 9.3 | 9.5 | 9.8 | 10.1 | 10.4 | 11.2 | 11.8 | 12.7 | 13.3 | 14.2 | 15.1 | 16 | 17 | 18 | 20 | 21 | 23 |
| 100 | 8.6 | 8.9 | 9.2 | 9.5 | 9.9 | 10.2 | 10.6 | 10.9 | 11.2 | 11.6 | 11.9 | 12.3 | 12.6 | 13.6 | 14.3 | 15.4 | 16 | 17 | 18 | 20 | 21 | 22 | 24 | 26 | 28 |
| 117 | 9.8 | 10.2 | 10.6 | 10.9 | 11.3 | 11.7 | 12.1 | 12.5 | 12.9 | 13.3 | 13.6 | 14.0 | 14.4 | 16 | 16 | 18 | 18 | 20 | 21 | 23 | 24 | 26 | 28 | 29 | 32 |
| 200 | 16 | 16 | 17 | 17 | 18 | 19 | 19 | 20 | 20 | 21 | 22 | 22 | 23 | 25 | 26 | 28 | 30 | 32 | 34 | 36 | 38 | 41 | 44 | 47 | 51 |
| 233 | 18 | 18 | 19 | 20 | 21 | 21 | 22 | 23 | 23 | 24 | 25 | 26 | 26 | 28 | 30 | 32 | 34 | 36 | 38 | 42 | 44 | 47 | 51 | 54 | 58 |
| 300 | 22 | 23 | 24 | 25 | 26 | 26 | 27 | 28 | 29 | 30 | 31 | 32 | 33 | 35 | 37 | 40 | 42 | 45 | 48 | 52 | 55 | 59 | 63 | 67 | 73 |
| 350 | 25 | 26 | 27 | 28 | 29 | 30 | 31 | 32 | 33 | 34 | 35 | 36 | 37 | 41 | 43 | 46 | 48 | 51 | 55 | 59 | 63 | 67 | 72 | 77 | 83 |
| 400 | 28 | 29 | 31 | 32 | 33 | 34 | 35 | 36 | 37 | 38 | 40 | 41 | 42 | 46 | 48 | 52 | 54 | 58 | 62 | 67 | 71 | 76 | 81 | 87 | 94 |
| 500 | 34 | 36 | 37 | 38 | 40 | 41 | 43 | 44 | 45 | 47 | 48 | 50 | 51 | 55 | 58 | 63 | 66 | 70 | 75 | 81 | 86 | 92 | 99 | 105 | 114 |
| 575 | 39 | 40 | 42 | 43 | 45 | 46 | 48 | 50 | 51 | 53 | 54 | 56 | 58 | 62 | 66 | 71 | 74 | 79 | 84 | 91 | 97 | 104 | 112 | 119 | 129 |
| 600 | 40 | 42 | 43 | 45 | 47 | 48 | 50 | 51 | 53 | 55 | 56 | 58 | 60 | 65 | 68 | 73 | 77 | 82 | 88 | 95 | 101 | 108 | 116 | 124 | 134 |
| 690 | 45 | 47 | 49 | 51 | 53 | 54 | 56 | 58 | 60 | 62 | 64 | 65 | 67 | 73 | 77 | 83 | 87 | 93 | 99 | 107 | 114 | 122 | 131 | 140 | 151 |
| 720 | 47 | 49 | 51 | 53 | 55 | 56 | 58 | 60 | 62 | 64 | 66 | 68 | 70 | 76 | 80 | 86 | 90 | 96 | 103 | 111 | 118 | 127 | 136 | 145 | 157 |
| 800 | 52 | 54 | 56 | 58 | 60 | 62 | 64 | 66 | 68 | 70 | 72 | 74 | 77 | 83 | 87 | 94 | 99 | 106 | 113 | 122 | 129 | 139 | 149 | 159 | 172 |
| 900 | 57 | 59 | 62 | 64 | 66 | 68 | 71 | 73 | 75 | 78 | 80 | 82 | 85 | 92 | 97 | 104 | 109 | 117 | 125 | 135 | 143 | 154 | 165 | 176 | 191 |
| 960 | 60 | 63 | 65 | 67 | 70 | 72 | 75 | 77 | 80 | 82 | 85 | 87 | 90 | 97 | 102 | 110 | 116 | 124 | 132 | 143 | 151 | 163 | 175 | 186 | 202 |
| 1000 | 62 | 65 | 67 | 70 | 72 | 75 | 77 | 80 | 82 | 85 | 88 | 90 | 93 | 101 | 106 | 114 | 120 | 128 | 137 | 148 | 157 | 169 | 181 | 193 | 209 |
| 1200 | 73 | 76 | 79 | 82 | 85 | 88 | 91 | 94 | 97 | 100 | 103 | 106 | 109 | 118 | 124 | 134 | 140 | 150 | 160 | 173 | 184 | 197 | 212 | 226 | 244 |
| 1440 | 85 | 89 | 92 | 96 | 99 | 102 | 106 | 109 | 113 | 116 | 120 | 123 | 127 | 138 | 145 | 156 | 164 | 175 | 187 | 203 | 214 | 231 | 247 | 264 | 285 |
| 1800 | 103 | 108 | 112 | 116 | 120 | 124 | 128 | 132 | 137 | 141 | 145 | 149 | 154 | 167 | 176 | 189 | 198 | 212 | 226 | 245 | 259 | 278 | 298 | 318 | 343 |
| 2000 | 113 | 118 | 122 | 127 | 131 | 136 | 140 | 145 | 149 | 154 | 159 | 163 | 168 | 182 | 192 | 207 | 216 | 231 | 246 | 267 | 282 | 303 | 325 | 346 | 374 |
| 2500 | 137 | 142 | 147 | 153 | 158 | 164 | 169 | 175 | 180 | 186 | 191 | 197 | 203 | 220 | 231 | 248 | 260 | 278 | 296 | 320 | 338 | 363 | 388 | 413 | 444 |
| 2880 | 154 | 160 | 166 | 172 | 178 | 184 | 190 | 196 | 203 | 209 | 215 | 221 | 228 | 247 | 259 | 279 | 292 | 311 | 331 | 357 | 377 | 404 | 431 | ||
| 3400 | 177 | 183 | 190 | 197 | 204 | 211 | 218 | 225 | 232 | 239 | 246 | 253 | 260 | 281 | 296 | 317 | 332 | 353 | 375 | 404 | 426 | ||||
| 4000 | 202 | 209 | 217 | 225 | 233 | 240 | 248 | 256 | 264 | 272 | 279 | 287 | 295 | 319 | 334 | 358 | 373 | 397 | |||||||
| 4500 | 222 | 230 | 238 | 247 | 255 | 263 | 272 | 280 | 289 | 297 | 305 | 314 | 322 | 347 | 364 | 388 | |||||||||
| 5000 | 241 | 249 | 258 | 267 | 276 | 285 | 294 | 303 | 312 | 321 | 329 | 338 | 347 | 373 | |||||||||||
| 6000 | 276 | 286 | 295 | 305 | 315 | 324 | 334 | 344 | 353 | ||||||||||||||||
| Die schattierten Angaben setzen eine Geschwindigkeit von über 50 m/s voraus. Spezielle Hochgeschwindigkeitszahnräder werden benötigt. | |||||||||||||||||||||||||
| 14M - Spezifische Grundleistung (kW) | |||||||||||||||||||||||||
| Drehzahl Antriebs- seitig |
Zähnezahl Antriebsseitig | ||||||||||||||||||||||||
| 28 | 29 | 30 | 31 | 32 | 33 | 34 | 35 | 36 | 37 | 38 | 39 | 40 | 43 | 45 | 48 | 50 | 53 | 56 | 60 | 63 | 67 | 71 | 75 | 80 | |
| 15 | 3.0 | 3.2 | 3.3 | 3.4 | 3.5 | 3.6 | 3.7 | 3.9 | 4.0 | 4.1 | 4.2 | 4.3 | 4.5 | 4.8 | 5.1 | 5.4 | 5.7 | 6.1 | 6.4 | 6.9 | 7.3 | 7.8 | 8.4 | 8.9 | 9.6 |
| 25 | 4.7 | 4.9 | 5.1 | 5.3 | 5.5 | 5.6 | 5.8 | 6.0 | 6.2 | 6.4 | 6.6 | 6.8 | 6.9 | 7.5 | 7.9 | 8.5 | 8.9 | 9.4 | 10.0 | 10.8 | 11.5 | 12.3 | 13.1 | 14.0 | 15.0 |
| 40 | 7.1 | 7.4 | 7.7 | 7.9 | 8.2 | 8.5 | 8.8 | 9.0 | 9.3 | 9.6 | 9.9 | 10.2 | 10.4 | 11.3 | 11.9 | 12.8 | 13.3 | 14.2 | 15.1 | 16.3 | 17 | 19 | 20 | 21 | 23 |
| 60 | 10.1 | 10.5 | 10.9 | 11.3 | 11.7 | 12.1 | 12.5 | 12.9 | 13.2 | 13.6 | 14.0 | 14.5 | 14.9 | 16 | 17 | 18 | 19 | 20 | 22 | 23 | 25 | 26 | 28 | 30 | 32 |
| 80 | 13.0 | 13.5 | 14.0 | 14.5 | 15.0 | 15.5 | 16 | 16 | 17 | 18 | 18 | 19 | 19 | 21 | 22 | 23 | 24 | 26 | 28 | 30 | 32 | 34 | 36 | 39 | 42 |
| 100 | 16 | 16 | 17 | 18 | 18 | 19 | 19 | 20 | 21 | 21 | 22 | 23 | 23 | 25 | 26 | 28 | 30 | 32 | 34 | 36 | 39 | 41 | 44 | 47 | 51 |
| 117 | 18 | 19 | 19 | 20 | 21 | 22 | 22 | 23 | 24 | 24 | 25 | 26 | 27 | 29 | 30 | 32 | 34 | 36 | 39 | 42 | 44 | 47 | 51 | 54 | 58 |
| 200 | 29 | 30 | 31 | 32 | 33 | 34 | 35 | 36 | 38 | 39 | 40 | 41 | 42 | 46 | 48 | 52 | 54 | 58 | 62 | 67 | 71 | 76 | 81 | 87 | 94 |
| 233 | 33 | 34 | 35 | 36 | 38 | 39 | 40 | 42 | 43 | 44 | 46 | 47 | 48 | 52 | 55 | 59 | 62 | 66 | 71 | 76 | 81 | 87 | 93 | 99 | 107 |
| 300 | 41 | 42 | 44 | 45 | 47 | 49 | 50 | 52 | 53 | 55 | 57 | 58 | 60 | 65 | 69 | 74 | 77 | 83 | 88 | 95 | 101 | 108 | 116 | 124 | 134 |
| 350 | 46 | 48 | 50 | 52 | 54 | 56 | 57 | 59 | 61 | 63 | 65 | 67 | 69 | 74 | 78 | 84 | 88 | 94 | 101 | 109 | 115 | 124 | 133 | 142 | 153 |
| 400 | 52 | 54 | 56 | 58 | 60 | 62 | 64 | 67 | 69 | 71 | 73 | 75 | 77 | 84 | 88 | 95 | 99 | 106 | 113 | 122 | 130 | 139 | 149 | 159 | 172 |
| 500 | 63 | 66 | 68 | 71 | 73 | 76 | 78 | 81 | 83 | 86 | 88 | 91 | 94 | 102 | 107 | 115 | 121 | 129 | 137 | 149 | 158 | 169 | 182 | 194 | 210 |
| 575 | 71 | 74 | 77 | 80 | 83 | 85 | 88 | 91 | 94 | 97 | 100 | 103 | 106 | 115 | 121 | 130 | 136 | 146 | 155 | 168 | 178 | 191 | 205 | 219 | 237 |
| 600 | 74 | 77 | 80 | 83 | 86 | 89 | 92 | 94 | 97 | 101 | 104 | 107 | 110 | 119 | 125 | 135 | 141 | 151 | 161 | 174 | 185 | 199 | 213 | 227 | 246 |
| 690 | 83 | 87 | 90 | 93 | 97 | 100 | 103 | 107 | 110 | 113 | 117 | 120 | 124 | 134 | 141 | 152 | 160 | 171 | 182 | 197 | 209 | 225 | 241 | 257 | 278 |
| 720 | 87 | 90 | 93 | 97 | 100 | 104 | 107 | 111 | 114 | 118 | 121 | 125 | 128 | 139 | 147 | 158 | 166 | 177 | 189 | 205 | 217 | 233 | 250 | 267 | 288 |
| 800 | 95 | 98 | 102 | 106 | 110 | 114 | 117 | 121 | 125 | 129 | 133 | 137 | 141 | 153 | 161 | 173 | 181 | 194 | 207 | 224 | 237 | 255 | 274 | 292 | 316 |
| 900 | 105 | 109 | 113 | 117 | 121 | 126 | 130 | 134 | 138 | 143 | 147 | 151 | 156 | 169 | 178 | 192 | 201 | 215 | 229 | 248 | 263 | 283 | 303 | 324 | 350 |
| 960 | 111 | 115 | 120 | 124 | 128 | 133 | 137 | 142 | 146 | 151 | 155 | 160 | 165 | 179 | 188 | 203 | 212 | 227 | 242 | 263 | 278 | 299 | 321 | 343 | 370 |
| 1000 | 115 | 119 | 124 | 128 | 133 | 138 | 142 | 147 | 152 | 156 | 161 | 166 | 171 | 185 | 195 | 210 | 220 | 235 | 251 | 272 | 288 | 310 | 332 | 355 | 384 |
| 1200 | 134 | 140 | 145 | 150 | 156 | 161 | 166 | 172 | 177 | 183 | 188 | 194 | 200 | 217 | 228 | 246 | 258 | 275 | 294 | 318 | 337 | 363 | 389 | 415 | 449 |
| 1440 | 157 | 163 | 169 | 176 | 182 | 188 | 195 | 201 | 207 | 214 | 220 | 227 | 234 | 253 | 267 | 287 | 301 | 322 | 343 | 372 | 394 | 424 | 454 | 485 | 524 |
| 1800 | 190 | 198 | 205 | 213 | 220 | 228 | 236 | 243 | 251 | 259 | 267 | 275 | 282 | 307 | 323 | 347 | 364 | 389 | 415 | 449 | 476 | 511 | 548 | 584 | 631 |
| 2000 | 208 | 216 | 224 | 233 | 241 | 249 | 258 | 266 | 274 | 283 | 292 | 300 | 309 | 335 | 353 | 380 | 398 | 425 | 453 | 491 | 519 | 558 | 597 | 637 | 687 |
| 2500 | 251 | 261 | 271 | 281 | 291 | 301 | 311 | 321 | 331 | 341 | 352 | 362 | 372 | 404 | 425 | 457 | 478 | 511 | 544 | 588 | 622 | 667 | 712 | 758 | 816 |
| 2880 | 283 | 294 | 305 | 316 | 327 | 338 | 350 | 361 | 372 | 384 | 395 | 407 | 418 | 453 | 477 | 512 | 536 | 572 | 608 | 657 | 693 | 742 | 792 | ||
| 3400 | 325 | 337 | 350 | 362 | 375 | 388 | 401 | 413 | 426 | 439 | 452 | 465 | 478 | 517 | 543 | 583 | 609 | 649 | 689 | 742 | 782 | ||||
| 4000 | 371 | 385 | 399 | 413 | 427 | 442 | 456 | 470 | 485 | 499 | 513 | 528 | 542 | 585 | 614 | 658 | 686 | 729 | |||||||
| 4500 | 407 | 423 | 438 | 453 | 469 | 484 | 499 | 515 | 530 | 546 | 561 | 576 | 592 | 638 | 668 | 713 | |||||||||
| 5000 | 442 | 459 | 475 | 491 | 508 | 524 | 540 | 557 | 573 | 589 | 605 | 621 | 637 | 685 | |||||||||||
| 6000 | 507 | 525 | 543 | 561 | 579 | 596 | 614 | 631 | 649 | ||||||||||||||||
| Die schattierten Angaben setzen eine Geschwindigkeit von über 50 m/s voraus. Spezielle Hochgeschwindigkeitszahnräder werden benötigt. | |||||||||||||||||||||||||
| 14M - Spezifische Grundleistung (kW) | |||||||||||||||||||||||||
| Drehzahl Antriebs- seitig |
Zähnezahl Antriebsseitig | ||||||||||||||||||||||||
| 28 | 29 | 30 | 31 | 32 | 33 | 34 | 35 | 36 | 37 | 38 | 39 | 40 | 43 | 45 | 48 | 50 | 53 | 56 | 60 | 63 | 67 | 71 | 75 | 80 | |
| 15 | 4.0 | 4.2 | 4.3 | 4.5 | 4.6 | 4.8 | 5.0 | 5.1 | 5.3 | 5.4 | 5.6 | 5.7 | 5.9 | 6.4 | 6.7 | 7.2 | 7.5 | 8.0 | 8.5 | 9.2 | 9.7 | 10.4 | 11.1 | 11.8 | 12.7 |
| 25 | 6.3 | 6.5 | 6.8 | 7.0 | 7.2 | 7.5 | 7.7 | 8.0 | 8.2 | 8.5 | 8.7 | 8.9 | 9.2 | 9.9 | 10.4 | 11.2 | 11.7 | 12.5 | 13.3 | 14.4 | 15.2 | 16.2 | 17 | 18 | 20 |
| 40 | 9.4 | 9.8 | 10.1 | 10.5 | 10.9 | 11.2 | 11.6 | 12.0 | 12.3 | 12.7 | 13.1 | 13.5 | 13.8 | 15.0 | 15.7 | 17 | 18 | 19 | 20 | 22 | 23 | 25 | 26 | 28 | 30 |
| 60 | 13.4 | 13.9 | 14.4 | 14.9 | 15.4 | 16.0 | 16 | 17 | 18 | 18 | 19 | 19 | 20 | 21 | 22 | 24 | 25 | 27 | 29 | 31 | 33 | 35 | 37 | 40 | 43 |
| 80 | 17 | 18 | 18 | 19 | 20 | 20 | 21 | 22 | 23 | 23 | 24 | 25 | 25 | 27 | 29 | 31 | 32 | 34 | 37 | 40 | 42 | 45 | 48 | 51 | 55 |
| 100 | 21 | 22 | 22 | 23 | 24 | 25 | 26 | 26 | 27 | 28 | 29 | 30 | 31 | 33 | 35 | 37 | 39 | 42 | 45 | 48 | 51 | 55 | 59 | 62 | 67 |
| 117 | 24 | 25 | 26 | 27 | 28 | 28 | 29 | 30 | 31 | 32 | 33 | 34 | 35 | 38 | 40 | 43 | 45 | 48 | 51 | 55 | 58 | 63 | 67 | 72 | 77 |
| 200 | 38 | 39 | 41 | 42 | 44 | 45 | 47 | 48 | 50 | 51 | 53 | 54 | 56 | 61 | 64 | 69 | 72 | 77 | 82 | 88 | 94 | 100 | 108 | 115 | 124 |
| 233 | 43 | 45 | 47 | 48 | 50 | 52 | 53 | 55 | 57 | 59 | 60 | 62 | 64 | 69 | 73 | 78 | 82 | 88 | 93 | 101 | 107 | 115 | 123 | 131 | 142 |
| 300 | 54 | 56 | 58 | 60 | 62 | 64 | 66 | 69 | 71 | 73 | 75 | 77 | 80 | 86 | 91 | 98 | 102 | 109 | 116 | 126 | 133 | 143 | 153 | 164 | 177 |
| 350 | 61 | 64 | 66 | 69 | 71 | 74 | 76 | 78 | 81 | 83 | 86 | 88 | 91 | 99 | 104 | 112 | 117 | 125 | 133 | 144 | 153 | 164 | 176 | 188 | 203 |
| 400 | 69 | 72 | 74 | 77 | 80 | 83 | 85 | 88 | 91 | 94 | 96 | 99 | 102 | 111 | 117 | 125 | 131 | 140 | 150 | 162 | 172 | 184 | 198 | 211 | 228 |
| 500 | 84 | 87 | 90 | 93 | 97 | 100 | 103 | 107 | 110 | 114 | 117 | 120 | 124 | 134 | 141 | 152 | 160 | 171 | 182 | 197 | 209 | 224 | 240 | 257 | 277 |
| 575 | 94 | 98 | 102 | 105 | 109 | 113 | 117 | 121 | 124 | 128 | 132 | 136 | 140 | 152 | 160 | 172 | 180 | 193 | 205 | 223 | 236 | 253 | 272 | 290 | 314 |
| 600 | 98 | 102 | 106 | 109 | 113 | 117 | 121 | 125 | 129 | 133 | 137 | 141 | 145 | 157 | 166 | 178 | 187 | 200 | 213 | 231 | 245 | 263 | 282 | 301 | 325 |
| 690 | 110 | 115 | 119 | 123 | 128 | 132 | 137 | 141 | 146 | 150 | 155 | 159 | 164 | 178 | 187 | 201 | 211 | 226 | 241 | 261 | 276 | 297 | 318 | 340 | 368 |
| 720 | 115 | 119 | 124 | 128 | 133 | 137 | 142 | 146 | 151 | 156 | 160 | 165 | 170 | 184 | 194 | 209 | 219 | 234 | 250 | 271 | 287 | 308 | 331 | 353 | 382 |
| 800 | 125 | 130 | 135 | 140 | 145 | 150 | 155 | 160 | 165 | 171 | 176 | 181 | 186 | 202 | 213 | 229 | 240 | 257 | 274 | 297 | 314 | 338 | 362 | 387 | 418 |
| 900 | 139 | 144 | 150 | 155 | 161 | 166 | 172 | 178 | 183 | 189 | 195 | 200 | 206 | 224 | 236 | 254 | 266 | 284 | 303 | 329 | 348 | 375 | 401 | 429 | 464 |
| 960 | 147 | 153 | 158 | 164 | 170 | 176 | 182 | 188 | 194 | 200 | 206 | 212 | 218 | 237 | 249 | 268 | 281 | 301 | 321 | 348 | 368 | 396 | 424 | 453 | 490 |
| 1000 | 152 | 158 | 164 | 170 | 176 | 182 | 188 | 194 | 201 | 207 | 213 | 219 | 226 | 245 | 258 | 278 | 291 | 312 | 332 | 360 | 381 | 410 | 440 | 470 | 508 |
| 1200 | 178 | 185 | 192 | 199 | 206 | 213 | 220 | 228 | 235 | 242 | 249 | 257 | 264 | 287 | 302 | 325 | 341 | 365 | 389 | 421 | 446 | 480 | 515 | 550 | 594 |
| 1440 | 208 | 216 | 224 | 233 | 241 | 249 | 258 | 266 | 275 | 283 | 292 | 300 | 309 | 335 | 353 | 380 | 399 | 426 | 454 | 493 | 522 | 561 | 601 | 642 | 694 |
| 1800 | 252 | 261 | 271 | 281 | 291 | 302 | 312 | 322 | 332 | 343 | 353 | 363 | 374 | 406 | 427 | 460 | 482 | 515 | 549 | 595 | 630 | 677 | 725 | 773 | 835 |
| 2000 | 275 | 286 | 297 | 308 | 319 | 330 | 341 | 352 | 363 | 375 | 386 | 397 | 409 | 443 | 467 | 502 | 526 | 563 | 600 | 649 | 687 | 738 | 790 | 843 | 909 |
| 2500 | 332 | 345 | 359 | 372 | 385 | 398 | 411 | 425 | 438 | 452 | 465 | 479 | 493 | 534 | 562 | 604 | 633 | 676 | 720 | 778 | 823 | 882 | 943 | 1004 | 1080 |
| 2880 | 374 | 389 | 404 | 418 | 433 | 448 | 463 | 478 | 493 | 508 | 523 | 538 | 554 | 600 | 631 | 678 | 709 | 757 | 805 | 869 | 917 | 983 | 1048 | ||
| 3400 | 430 | 446 | 463 | 480 | 496 | 513 | 530 | 547 | 564 | 581 | 598 | 615 | 633 | 684 | 719 | 771 | 806 | 859 | 912 | 982 | 1035 | ||||
| 4000 | 491 | 509 | 528 | 547 | 566 | 585 | 604 | 623 | 642 | 661 | 680 | 699 | 718 | 775 | 813 | 870 | 908 | 965 | |||||||
| 4500 | 539 | 559 | 580 | 600 | 620 | 641 | 661 | 681 | 702 | 722 | 743 | 763 | 783 | 844 | 884 | 944 | |||||||||
| 5000 | 585 | 607 | 629 | 650 | 672 | 694 | 715 | 737 | 758 | 780 | 801 | 822 | 844 | 907 | |||||||||||
| 6000 | 671 | 695 | 719 | 742 | 766 | 789 | 813 | 836 | 859 | ||||||||||||||||
| Die schattierten Angaben setzen eine Geschwindigkeit von über 50 m/s voraus. Spezielle Hochgeschwindigkeitszahnräder werden benötigt. | |||||||||||||||||||||||||
| 14M - Spezifische Grundleistung (kW) | |||||||||||||||||||||||||
| Drehzahl Antriebs- seitig |
Zähnezahl Antriebsseitig | ||||||||||||||||||||||||
| 28 | 29 | 30 | 31 | 32 | 33 | 34 | 35 | 36 | 37 | 38 | 39 | 40 | 43 | 45 | 48 | 50 | 53 | 56 | 60 | 63 | 67 | 71 | 75 | 80 | |
| 15 | 5.6 | 5.8 | 6.0 | 6.2 | 6.5 | 6.7 | 6.9 | 7.1 | 7.3 | 7.5 | 7.8 | 8.0 | 8.2 | 8.9 | 9.3 | 10.0 | 10.4 | 11.1 | 11.8 | 12.8 | 13.5 | 14.4 | 15.4 | 16.4 | 17.6 |
| 25 | 8.7 | 9.1 | 9.4 | 9.7 | 10.0 | 10.4 | 10.7 | 11.1 | 11.4 | 11.7 | 12.1 | 12.4 | 12.8 | 13.8 | 14.5 | 15.6 | 16.3 | 17 | 18 | 20 | 21 | 23 | 24 | 26 | 28 |
| 40 | 13.1 | 13.6 | 14.1 | 14.6 | 15.1 | 15.6 | 16.1 | 17 | 17 | 18 | 18 | 19 | 19 | 21 | 22 | 23 | 25 | 26 | 28 | 30 | 32 | 34 | 36 | 39 | 42 |
| 60 | 19 | 19 | 20 | 21 | 21 | 22 | 23 | 24 | 24 | 25 | 26 | 27 | 27 | 30 | 31 | 33 | 35 | 37 | 40 | 43 | 45 | 49 | 52 | 55 | 60 |
| 80 | 24 | 25 | 26 | 27 | 28 | 28 | 29 | 30 | 31 | 32 | 33 | 34 | 35 | 38 | 40 | 43 | 45 | 48 | 51 | 55 | 58 | 62 | 67 | 71 | 77 |
| 100 | 29 | 30 | 31 | 32 | 33 | 35 | 36 | 37 | 38 | 39 | 40 | 41 | 43 | 46 | 48 | 52 | 54 | 58 | 62 | 67 | 71 | 76 | 81 | 87 | 93 |
| 117 | 33 | 34 | 36 | 37 | 38 | 40 | 41 | 42 | 43 | 45 | 46 | 47 | 49 | 53 | 56 | 60 | 62 | 67 | 71 | 77 | 81 | 87 | 93 | 99 | 107 |
| 200 | 53 | 55 | 57 | 59 | 61 | 63 | 65 | 67 | 69 | 71 | 73 | 76 | 78 | 84 | 89 | 95 | 100 | 107 | 113 | 123 | 130 | 140 | 149 | 159 | 172 |
| 233 | 60 | 62 | 65 | 67 | 69 | 72 | 74 | 77 | 79 | 81 | 84 | 86 | 89 | 96 | 101 | 109 | 114 | 122 | 130 | 140 | 148 | 160 | 171 | 182 | 197 |
| 300 | 75 | 78 | 81 | 83 | 86 | 89 | 92 | 95 | 98 | 101 | 104 | 107 | 110 | 120 | 126 | 136 | 142 | 152 | 162 | 175 | 185 | 199 | 213 | 227 | 246 |
| 350 | 85 | 89 | 92 | 95 | 99 | 102 | 106 | 109 | 112 | 116 | 119 | 123 | 126 | 137 | 144 | 155 | 162 | 174 | 185 | 200 | 212 | 228 | 244 | 261 | 281 |
| 400 | 96 | 100 | 103 | 107 | 111 | 115 | 118 | 122 | 126 | 130 | 134 | 138 | 142 | 154 | 162 | 174 | 182 | 195 | 208 | 225 | 238 | 256 | 274 | 293 | 317 |
| 500 | 116 | 121 | 125 | 130 | 134 | 139 | 144 | 148 | 153 | 158 | 163 | 167 | 172 | 187 | 197 | 211 | 222 | 237 | 252 | 274 | 290 | 311 | 334 | 356 | 385 |
| 575 | 131 | 136 | 141 | 146 | 152 | 157 | 162 | 167 | 173 | 178 | 183 | 189 | 194 | 211 | 222 | 239 | 250 | 268 | 285 | 309 | 327 | 352 | 377 | 403 | 435 |
| 600 | 136 | 141 | 147 | 152 | 157 | 163 | 168 | 174 | 179 | 185 | 190 | 196 | 202 | 219 | 230 | 248 | 260 | 278 | 296 | 321 | 340 | 365 | 391 | 418 | 452 |
| 690 | 153 | 159 | 165 | 171 | 178 | 184 | 190 | 196 | 202 | 209 | 215 | 221 | 228 | 247 | 260 | 280 | 293 | 314 | 334 | 362 | 384 | 413 | 442 | 472 | 511 |
| 720 | 159 | 165 | 172 | 178 | 184 | 191 | 197 | 203 | 210 | 216 | 223 | 229 | 236 | 256 | 270 | 290 | 304 | 325 | 347 | 376 | 398 | 428 | 459 | 490 | 530 |
| 800 | 174 | 181 | 188 | 195 | 202 | 209 | 216 | 223 | 230 | 237 | 244 | 251 | 259 | 281 | 296 | 318 | 333 | 357 | 380 | 412 | 436 | 470 | 503 | 538 | 581 |
| 900 | 193 | 200 | 208 | 216 | 223 | 231 | 239 | 247 | 254 | 262 | 270 | 278 | 286 | 311 | 327 | 352 | 369 | 395 | 421 | 456 | 484 | 520 | 557 | 595 | 644 |
| 960 | 204 | 212 | 220 | 228 | 236 | 244 | 252 | 261 | 269 | 277 | 286 | 294 | 303 | 329 | 346 | 373 | 390 | 418 | 445 | 483 | 511 | 550 | 590 | 630 | 681 |
| 1000 | 211 | 219 | 228 | 236 | 245 | 253 | 261 | 270 | 279 | 287 | 296 | 305 | 314 | 340 | 358 | 386 | 404 | 433 | 461 | 500 | 530 | 570 | 611 | 652 | 706 |
| 1200 | 247 | 257 | 266 | 276 | 286 | 296 | 306 | 316 | 326 | 336 | 346 | 357 | 367 | 398 | 419 | 452 | 473 | 506 | 540 | 585 | 620 | 667 | 715 | 763 | 825 |
| 1440 | 289 | 300 | 312 | 323 | 335 | 346 | 358 | 370 | 381 | 393 | 405 | 417 | 429 | 466 | 491 | 528 | 554 | 592 | 631 | 684 | 725 | 779 | 835 | 892 | 964 |
| 1800 | 349 | 363 | 377 | 391 | 405 | 419 | 433 | 447 | 461 | 476 | 490 | 505 | 519 | 563 | 593 | 639 | 669 | 715 | 762 | 826 | 875 | 940 | 1007 | 1074 | 1160 |
| 2000 | 382 | 397 | 412 | 428 | 443 | 458 | 474 | 489 | 505 | 520 | 536 | 552 | 568 | 616 | 648 | 698 | 731 | 782 | 833 | 902 | 954 | 1025 | 1097 | 1170 | 1263 |
| 2500 | 462 | 480 | 498 | 516 | 535 | 553 | 571 | 590 | 609 | 628 | 646 | 665 | 684 | 742 | 781 | 840 | 879 | 939 | 999 | 1081 | 1142 | 1226 | 1309 | 1394 | 1501 |
| 2880 | 520 | 540 | 561 | 581 | 602 | 622 | 643 | 664 | 685 | 705 | 727 | 748 | 769 | 833 | 876 | 941 | 985 | 1051 | 1117 | 1207 | 1274 | 1365 | 1456 | ||
| 3400 | 597 | 620 | 643 | 666 | 690 | 713 | 736 | 760 | 784 | 807 | 831 | 855 | 879 | 951 | 999 | 1072 | 1120 | 1193 | 1267 | 1364 | 1438 | ||||
| 4000 | 681 | 707 | 733 | 760 | 786 | 812 | 838 | 865 | 891 | 917 | 944 | 970 | 997 | 1076 | 1129 | 1209 | 1261 | 1340 | |||||||
| 4500 | 749 | 777 | 805 | 833 | 862 | 890 | 918 | 947 | 975 | 1003 | 1031 | 1060 | 1088 | 1172 | 1228 | 1311 | |||||||||
| 5000 | 813 | 843 | 873 | 903 | 933 | 963 | 993 | 1023 | 1053 | 1083 | 1113 | 1142 | 1172 | 1259 | |||||||||||
| 6000 | 932 | 965 | 998 | 1031 | 1064 | 1096 | 1129 | 1161 | 1192 | ||||||||||||||||
| Die schattierten Angaben setzen eine Geschwindigkeit von über 50 m/s voraus. Spezielle Hochgeschwindigkeitszahnräder werden benötigt. | |||||||||||||||||||||||||
| Gesamtbetriebsfaktor c0 = c2 + c3 | |||||||||
| Belastungsfaktor c2 | Beispiele von Antriebsmaschinen | ||||||||
|
Elektromotoren mit niedrigem Anlaufmoment (bis 1,5 x Nennmoment) z. B. Gleichstrom-Nebenschluss- motoren, Verbrennungs- motoren mit 8 und mehr Zylindern, Wasser- und Dampfturbinen |
Wechsel- und Drehstrom- motoren mit normalem Anlaufmoment (1,5-2,5 x Nennmoment) z. B. Gleichstrommotoren mit Doppelschlusswicklung, Kurzschlussläufermotoren, Verbrennungsmotoren mit 4-6 Zylindern |
Wechsel- und Drehstrommotoren mit hohem Anlauf- und Bremsmoment (über 2,5 x Nennmoment) z. B. Einphasen- und Synchronmotoren mit hohem Drehmoment, Verbrennungs- motoren bis 4 Zylindern |
|||||||
| Beispiele von Arbeitsmaschinen |
Belastungsfaktor c2 für tägliche Betriebsdauer (Stunden) | ||||||||
| bis 10 |
10 bis 16 |
über 16 |
bis 10 | 10 bis 16 |
über 16 |
bis 10 |
10 bis 16 |
über 16 |
|
| Bandförderer, Messgeräte, medizinische Geräte |
1.1 | 1.3 | 1.5 | 1.2 | 1.4 | 1.6 | 1.3 | 1.5 | 1.7 |
|
Werkzeugmaschinen, (leichte Drehmaschinen), Holzbearbeitungsmaschi- nen (Kreissägen, Bandsägen, Hobelmaschinen), Textilmaschinen (Spulmaschinen, Wickler), Papiermaschinen (Kalander, Trockner, Trommelsiebe), Bäckereimaschinen, Wäschereimaschinen |
1.2 | 1.4 | 1.6 | 1.4 | 1.6 | 1.8 | 1.6 | 1.8 | 2.0 |
|
Ventilatoren bis 10 kW, Textilmaschinen (Spinn-, Web- und Zwirnmaschinen), Werkzeugmaschinen (Walz-, Schleif- und Hobelmaschinen, leichte Fräsmaschinen), Rührwerke und Mischer für halbflüssige Massen |
1.3 | 1.5 | 1.7 | 1.5 | 1.7 | 1.9 | 1.7 | 1.9 | 2.1 |
|
Lüfter (Radialgebläse), Kompressoren (Radialverdichter), Papiermaschinen, Rotations-, Zahnrad- und Zentrifugalpumpen, Jordanpumpen, Förderanlagen für Erze und Kohle, Grubenlüfter, schwere Textilmaschinen, Aufzüge, Generatoren, Gummiverarbeitungs- maschinen (Kalander, Extruder, Mühlen), Hebezeuge, Generatoren, Erregermaschinen |
1.4 | 1.6 | 1.8 | 1.6 | 1.8 | 2.0 | 1.8 | 2.0 | 2.2 |
|
Kolbenmaschinen, Pumpen, Kompressoren, Walzenbrecher, Zerkleinerungsmaschinen, Knetmaschinen, Ventilatoren, Papiermühlen, Zerfaserer |
1.6 | 1.8 | 2.0 | 1.8 | 2.0 | 2.2 | 2.0 | 2.2 | 2.4 |
| Beschleunigungszuschlag c3 | ||
| Übersetzungsverhältnis | Beschleunigungszuschlag | |
| i | c3 | |
| 1 bis 1,24 | 0.00 | |
| 1,25 bis 1,74 | 0.10 | |
| 1,75 bis 2,49 | 0.20 | |
| 2,50 bis 3,49 | 0.30 | |
| über 3,5 | 0.40 | |
| Korrekturfaktor 8M | |||||||||||||
| Riemenlänge (mm) |
640 | 720 | 800 | 896 | 1000 | 1120 | 1200 | 1280 | 1440 | 1600 | 1792 | 2000 | |
| Korrektur- faktor |
0.79 | 0.83 | 0.87 | 0.91 | 0.96 | 1.00 | 1.03 | 1.05 | 1.10 | 1.14 | 1.18 | 1.22 | |
| Riemenlänge (mm) |
2240 | 2400 | 2520 | 2600 | 2800 | 2840 | 3048 | 3200 | 3600 | 4000 | 4400 | 4480 | |
| Korrektur- faktor |
1.26 | 1.29 | 1.31 | 1.32 | 1.35 | 1.36 | 1.38 | 1.40 | 1.45 | 1.49 | 1.52 | 1.53 | |
| Korrekturfaktor 14M | |||||||||||||
| Riemenlänge (mm) |
994 | 1120 | 1190 | 1260 | 1400 | 1568 | 1610 | 1750 | 1960 | 2100 | 2240 | 2310 | 2380 |
| Korrektur- faktor |
0.68 | 0.73 | 0.75 | 0.77 | 0.81 | 0.85 | 0.86 | 0.89 | 0.94 | 0.96 | 0.99 | 1.00 | 1.01 |
| Riemenlänge (mm) |
2450 | 2520 | 2590 | 2660 | 2800 | 3136 | 3304 | 3360 | 3500 | 3850 | 3920 | 1326 | 4410 |
| Korrektur- faktor |
1.02 | 1.03 | 1.04 | 1.05 | 1.07 | 1.12 | 1.14 | 1.14 | 1.16 | 1.19 | 1.20 | 1.24 | 1.25 |








